EasyManua.ls Logo

Fujitsu MCE3064SS - Cable Connection Requirements; Cable Connection Mode

Fujitsu MCE3064SS
181 pages
Print Icon
To Next Page IconTo Next Page
To Next Page IconTo Next Page
To Previous Page IconTo Previous Page
To Previous Page IconTo Previous Page
Loading...
C156-E097-01EN 3 - 17
For cables using pin 01 as shield ground, note that the shield of the
connector on the drive is not connected to ground.
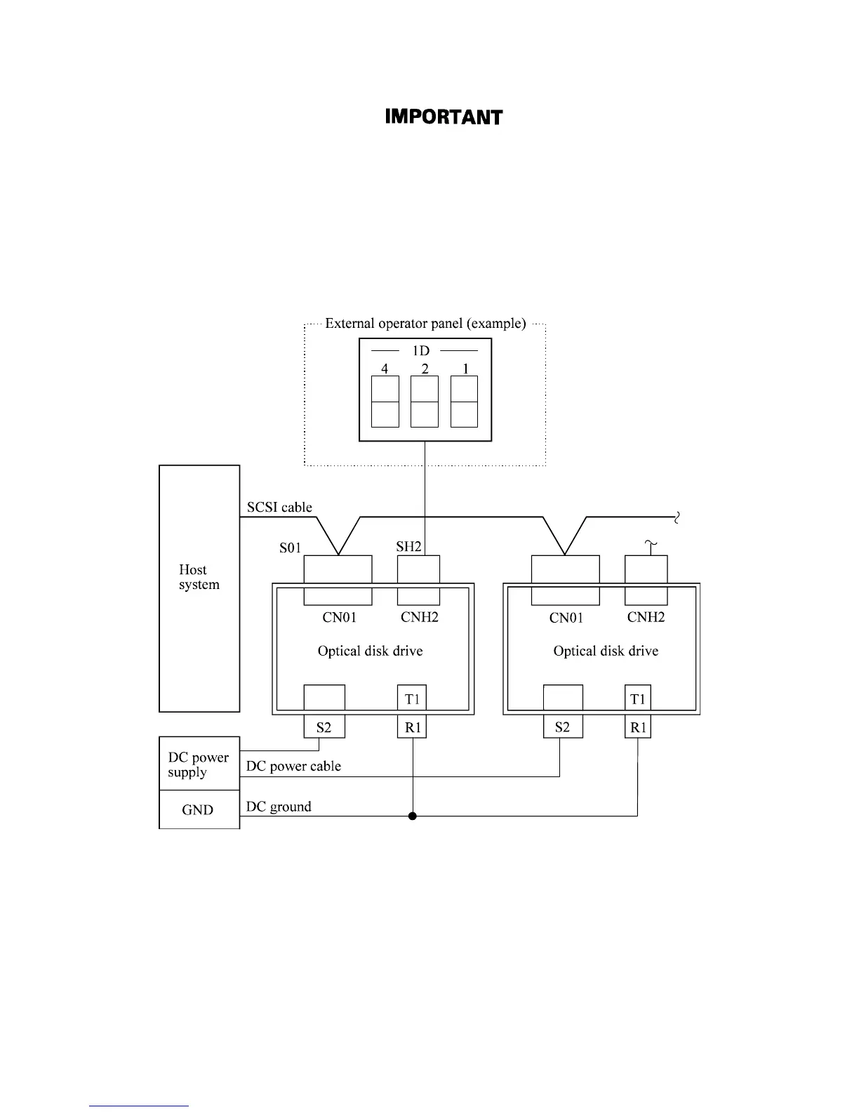
3.4.2 Cable connection requirements
Figure 3.16 shows the cable connection mode between the drive, host system, and power supply
unit. Table 3.4 lists recommended components for the connection.
Figure 3.16 Cable connection mode
CN01CN01

Table of Contents

Related product manuals