EasyManua.ls Logo

Fujitsu MCE3064SS - System Configuration; SCSI Bus Configuration; System Configuration Example

Fujitsu MCE3064SS
181 pages
Print Icon
To Next Page IconTo Next Page
To Next Page IconTo Next Page
To Previous Page IconTo Previous Page
To Previous Page IconTo Previous Page
Loading...
1 - 10 C156-E097-01EN
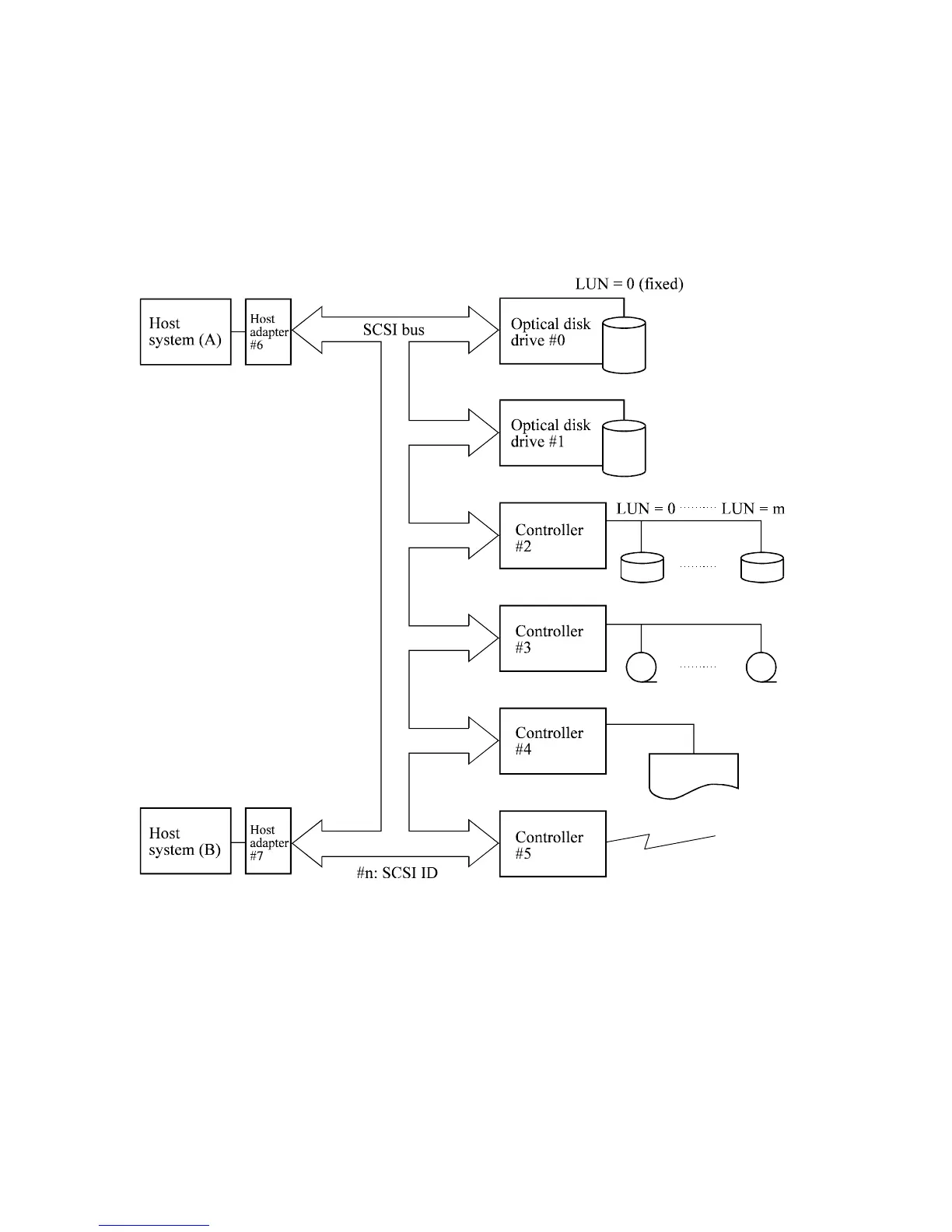
1.3 System Configuration
An optical disk drive connected to the system SCSI bus always operates as a target. Figure 1.5 is
a system configuration example. Through the SCSI bus, the optical disk drive executes the
input-output operation specified by the SCSI device that operates as the initiator.
Figure 1.5 System configuration example
1.3.1 SCSI bus configuration
A maximum of eight SCSI devices can be connected to the SCSI bus. The combination of an
SCSI device operating as an initiator and an SCSI device operating as a target is arbitrary. A
multihost system can be configured in which several host systems operate as initiators.
The disconnect or reconnect function enables input-output processing in parallel through more
than one SCSI device.

Table of Contents

Related product manuals