EasyManua.ls Logo

Fujitsu MCE3064SS - Example of Alternate Processing

Fujitsu MCE3064SS
181 pages
Print Icon
To Next Page IconTo Next Page
To Next Page IconTo Next Page
To Previous Page IconTo Previous Page
To Previous Page IconTo Previous Page
Loading...
C156-E097-01EN 2 - 21
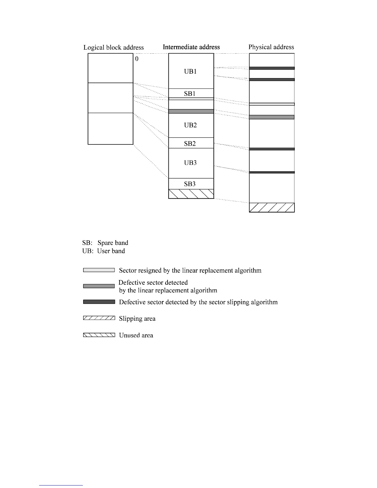
Figure 2.3 Example of alternate processing

Table of Contents

Related product manuals