EasyManua.ls Logo

GE Alpha RT 32551 - Page 78

GE Alpha RT 32551
99 pages
Print Icon
To Next Page IconTo Next Page
To Next Page IconTo Next Page
To Previous Page IconTo Previous Page
To Previous Page IconTo Previous Page
Loading...
5 Setups, alignments and adjustments
72 GE Healthcare 32551-IMG rev 6
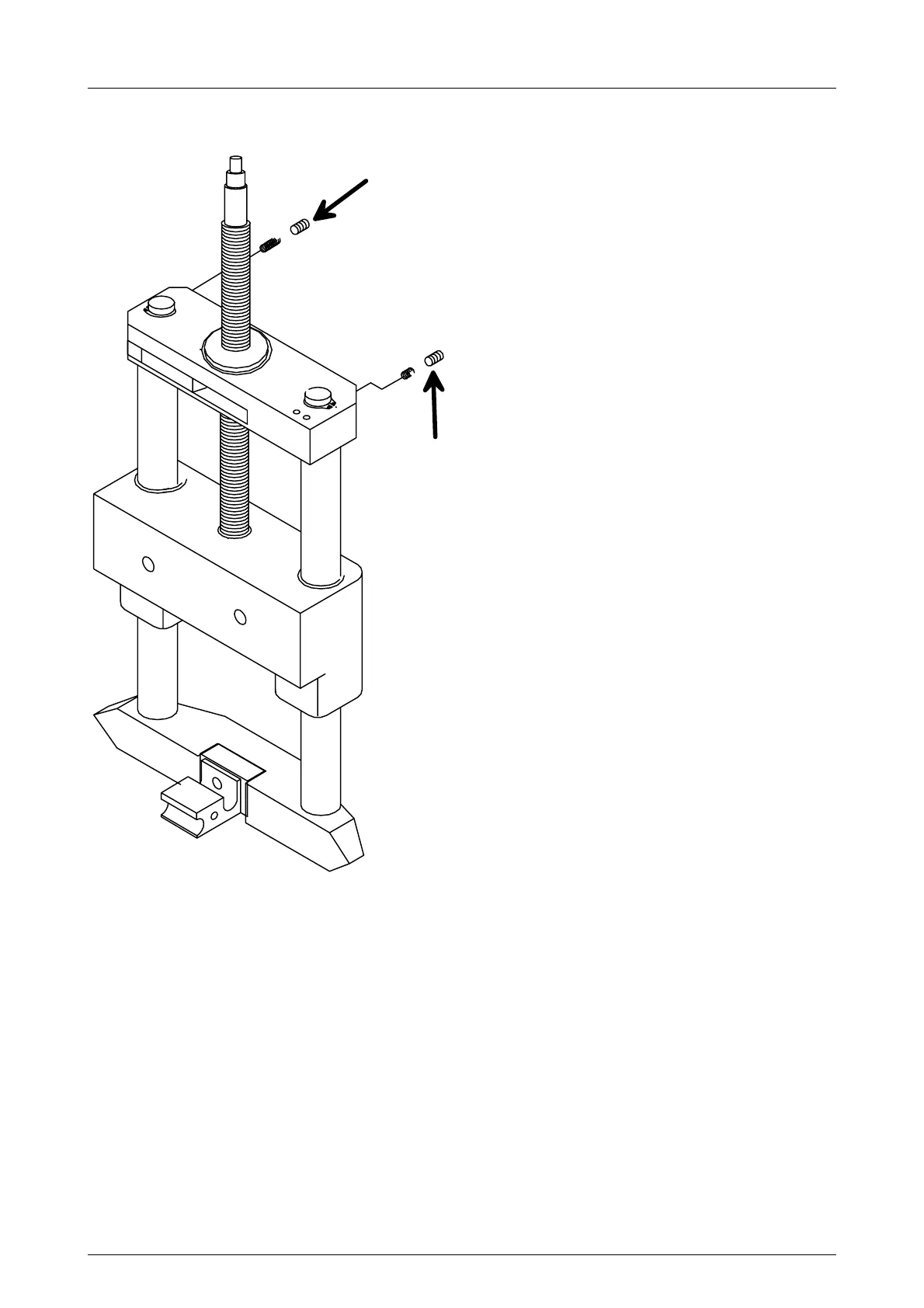
Fig 5.8. Compression mechanism
Mechanical clutch
adjustment
Sliding bar
clearance
adjustment

Table of Contents