EasyManua.ls Logo

Graco PR70 - Shot Calibration; Perform Small Calibration Shots; Perform Large Calibration Shots

Graco PR70
72 pages
Print Icon
To Next Page IconTo Next Page
To Next Page IconTo Next Page
To Previous Page IconTo Previous Page
To Previous Page IconTo Previous Page
Loading...
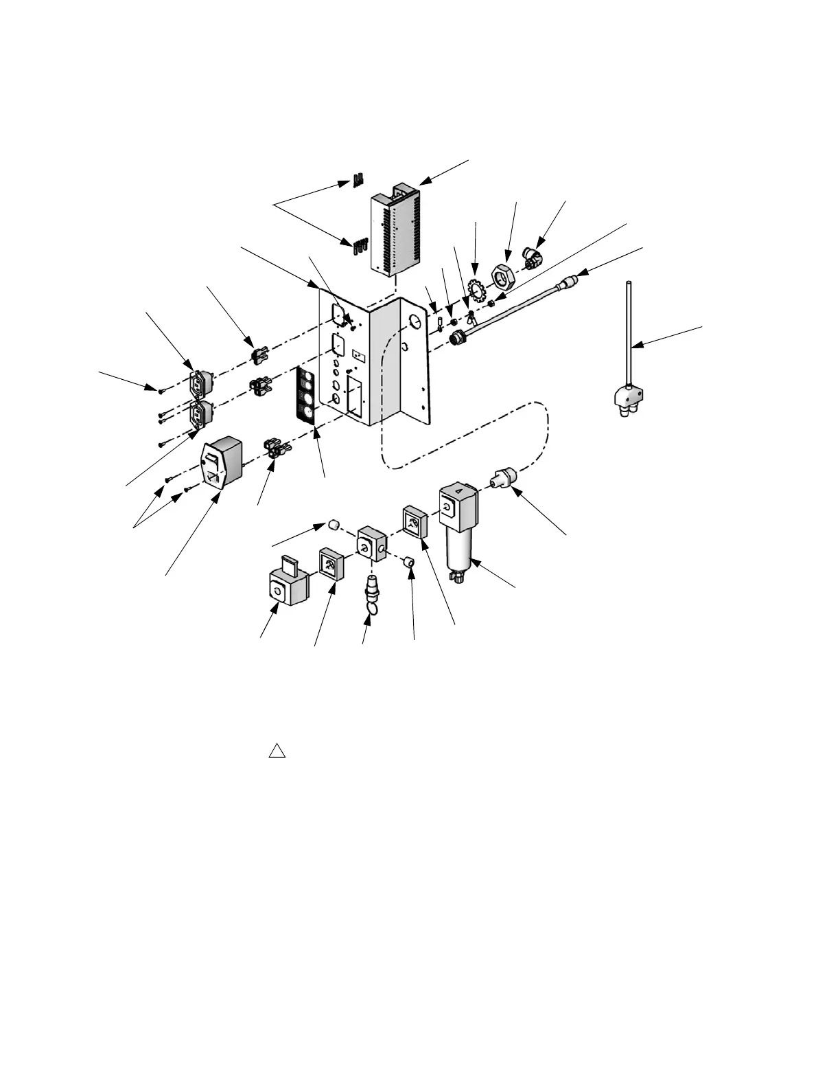
Parts
48 312760A
Incoming Power Bracket, LC0239
319
312
308
302
305
303
322
308
322
321
309
320, 327
326
307
326
307
306, 318
329
317
313
314
316
317
314
304
330
320, 327
Apply thread sealant tape if applicable.
1
ti12489a
301
310

Other manuals for Graco PR70

Related product manuals