EasyManua.ls Logo

Hach TU5400 - 3.2 Monter servicebeslaget; 3.3 Installer det automatiske rengøringsmodul

Hach TU5400
414 pages
Print Icon
To Next Page IconTo Next Page
To Next Page IconTo Next Page
To Previous Page IconTo Previous Page
To Previous Page IconTo Previous Page
Loading...
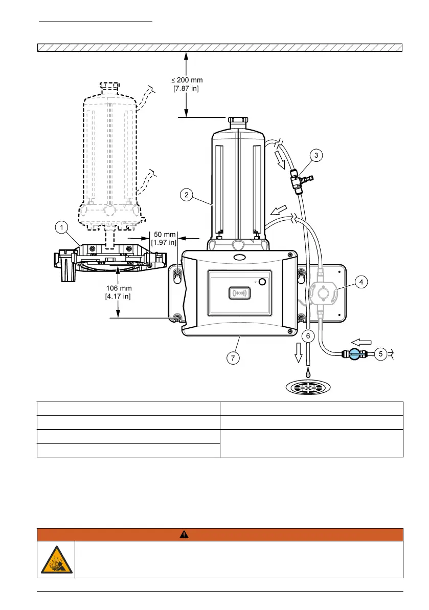
Figur 3 Installationsoversigt
1 Servicebeslag 5 Prøveindløb
2 Automatisk rengøringsmodul 6 Prøveudløb
3 Flowregulator 7 TU5300 sc eller TU5400 sc
4 Flowsensor (valgfri)
3.2 Monter servicebeslaget
Se dokumentationen til TU5300 sc/TU5400 sc ved montering af servicebeslaget. Servicebeslaget
følger med turbidimeteret.
3.3 Installer det automatiske rengøringsmodul
A D V A R S E L
Eksplosionsfare. Sørg for, at afløbsslangen har frit afløb. Hvis afløbsslangen har en
blokering, er klemt eller bøjet, kan øget tryk opbygges i instrumentet.
Dansk 143

Table of Contents

Related product manuals