EasyManua.ls Logo

Hach TU5400 - 3.2 Installation de la bride de service; 3.3 Installation du module de nettoyage automatique

Hach TU5400
414 pages
Print Icon
To Next Page IconTo Next Page
To Next Page IconTo Next Page
To Previous Page IconTo Previous Page
To Previous Page IconTo Previous Page
Loading...
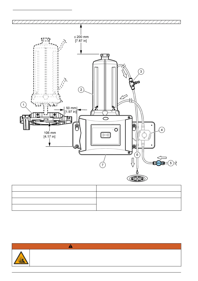
Figure 3 Aperçu de l'installation
1 Bride de service 5 Entrée d'échantillon
2 Module de nettoyage automatique 6 Sortie d'échantillon
3 Régulateur de débit 7 TU5300 sc ou TU5400 sc
4 Débitmètre (en option)
3.2 Installation de la bride de service
Consultez la documentation TU5300 sc/TU5400 sc pour installer la bride de service. La bride de
service est fournie avec le turbidimètre.
3.3 Installation du module de nettoyage automatique
A V E R T I S S E M E N T
Risque d'explosion. Assurez-vous que le tube d'évacuation n'est pas bloqué. Si le tube
d'évacuation est bloqué, pincé ou tordu, une forte pression peut s'accumuler dans
l'instrument.
58 Français

Table of Contents

Related product manuals