EasyManua.ls Logo

Hach TU5400 - 3.2 Įdėkite techninės priežiūros laikiklį; 3.3 Automatinio valymo modulio įrengimas

Hach TU5400
414 pages
Print Icon
To Next Page IconTo Next Page
To Next Page IconTo Next Page
To Previous Page IconTo Previous Page
To Previous Page IconTo Previous Page
Loading...
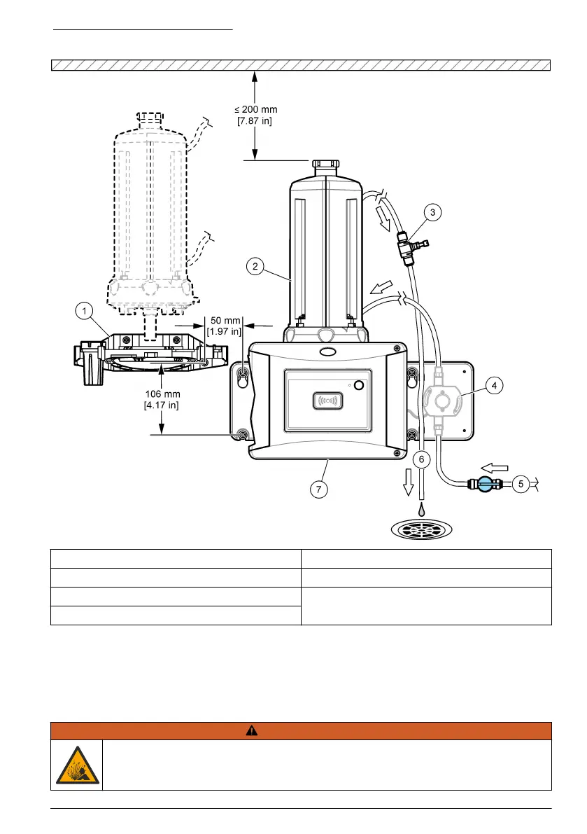
Paveikslėlis 3 Įrengimo apžvalga
1 Techninės priežiūros laikiklis 5 Mėginio įvadas
2 Automatinis valymo modulis 6 Mėginio išvadas
3 Srauto reguliatorius 7 „TU5300 sc“ arba „TU5400 sc“
4 Srauto jutiklis (pasirenkamas)
3.2 Įdėkite techninės priežiūros laikiklį
Vadovaukitės TU5300 SC / TU5400 SC dokumentacija, kad įdėtumėte techninės priežiūros laikiklį.
Techninės priežiūros laikiklis pridedamas su turbidimetru.
3.3 Automatinio valymo modulio įrengimas
Į S P Ė J I M A S
Sprogimo pavojus. Įsitikinkite, kad išleidimo vamzdyje nėra jokių kliūčių. Jei išleidimo
vamzdis užsikemša, jis yra suspaustas arba sulenktas, prietaise gali susidaryti aukštas
slėgis.
lietuvių kalba 263

Table of Contents

Related product manuals