EasyManua.ls Logo

Hach TU5400 - 3.2 Instalación del soporte de servicio; 3.3 Instalación de la unidad de limpieza automática

Hach TU5400
414 pages
Print Icon
To Next Page IconTo Next Page
To Next Page IconTo Next Page
To Previous Page IconTo Previous Page
To Previous Page IconTo Previous Page
Loading...
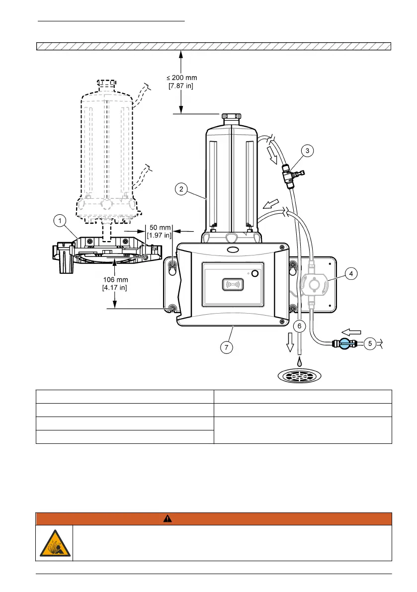
Figura 3 Descripción de la instalación
1 Soporte de servicio 5 Entrada de muestra
2 Unidad de limpieza automática 6 Salida de muestra
3 Regulador de caudal 7 TU5300 sc o TU5400 sc
4 Sensor de caudal (opcional)
3.2 Instalación del soporte de servicio
Consulte la documentación del TU5300 sc/TU5400 sc para instalar el soporte de servicio. El soporte
de servicio se suministra con el turbidímetro.
3.3 Instalación de la unidad de limpieza automática
A D V E R T E N C I A
Peligro de explosión. Asegúrese de que el tubo de drenaje no presenta obstrucciones. Si
el tubo de drenaje está obstruido, oprimido o torcido, la presión se puede elevar dentro
del instrumento.
Español 75

Table of Contents

Related product manuals