EasyManua.ls Logo

Hach TU5400 - 3.2 Installieren der Servicehalterung; 3.3 Automatisches Reinigungsmodul installieren

Hach TU5400
414 pages
Print Icon
To Next Page IconTo Next Page
To Next Page IconTo Next Page
To Previous Page IconTo Previous Page
To Previous Page IconTo Previous Page
Loading...
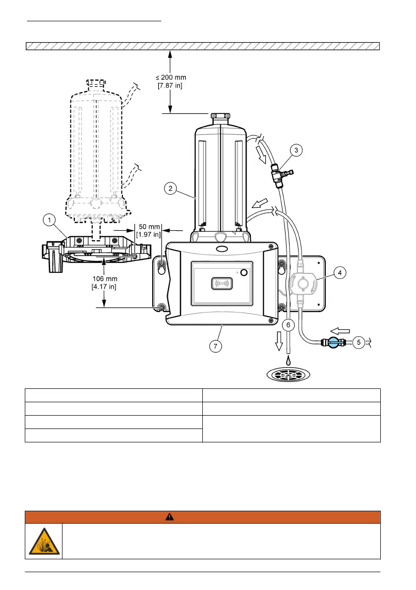
Abbildung 3 Installationsübersicht
1 Servicehalterung 5 Probenzulauf
2 Automatisches Reinigungsmodul 6 Probenauslass
3 Durchflussregler 7 TU5300 sc oder TU5400 sc
4 Durchflusssensor (optional)
3.2 Installieren der Servicehalterung
Informationen zum Installieren der Servicehalterung finden Sie in der Dokumentation des TU5300 sc
bzw. TU5400 sc. Die Servicehalterung ist im Lieferumfang des Trübungsmessgeräts enthalten.
3.3 Automatisches Reinigungsmodul installieren
W A R N U N G
Explosionsgefahr. Stellen Sie sicher, dass die Kanüle frei von Fremdkörpern ist. Wenn
die Kanüle verstopft, abgeklemmt oder verbogen ist, kann hoher Druck im Gerät
entstehen.
24 Deutsch

Table of Contents