EasyManua.ls Logo

Hach TU5400 - 3.2 Τοποθέτηση του βοηθητικού υποστηρίγματος service; 3.3 Εγκατάσταση της μονάδας αυτόματου καθαρισμού

Hach TU5400
414 pages
Print Icon
To Next Page IconTo Next Page
To Next Page IconTo Next Page
To Previous Page IconTo Previous Page
To Previous Page IconTo Previous Page
Loading...
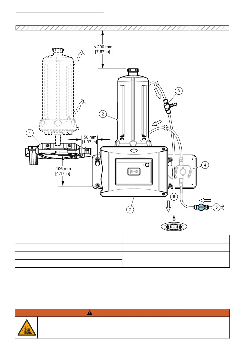
Εικόνα 3 Επισκόπηση εγκατάστασης
1 Βοηθητικό υποστήριγμα service 5 Είσοδος δείγματος
2 Μονάδα αυτόματου καθαρισμού 6 Έξοδος δείγματος
3 Ρυθμιστής ροής 7 TU5300 sc ή TU5400 sc
4 Αισθητήριο ροής (προαιρετικό)
3.2 Τοποθέτηση του βοηθητικού υποστηρίγματος service
Για την τοποθέτηση του βοηθητικού υποστηρίγματος service, ανατρέξτε στην τεκμηρίωση του
TU5300 sc/TU5400 sc. Το βοηθητικό υποστήριγμα service παρέχεται με το θολόμετρο.
3.3 Εγκατάσταση της μονάδας αυτόματου καθαρισμού
Π Ρ Ο Ε Ι Δ Ο Π Ο Ι Η Σ Η
Κίνδυνος έκρηξης. Βεβαιωθείτε ότι ο σωλήνας αποστράγγισης δεν εμποδίζεται. Αν ο
σωλήνας αποστράγγισης μπλοκαριστεί ή συστραφεί ή λυγίσει μπορεί να δημιουργηθούν
συνθήκες υψηλής πίεσης στο όργανο.
366 Ελληνικά

Table of Contents

Related product manuals