EasyManua.ls Logo

Hach TU5400 - 3.2 A szervizkonzol felszerelése; 3.3 Az automatikus tisztító modul felszerelése

Hach TU5400
414 pages
Print Icon
To Next Page IconTo Next Page
To Next Page IconTo Next Page
To Previous Page IconTo Previous Page
To Previous Page IconTo Previous Page
Loading...
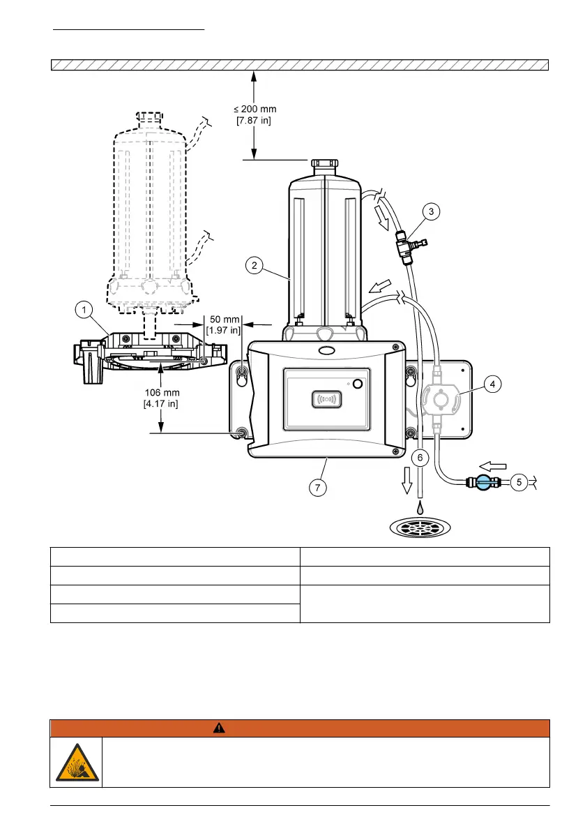
3. ábra Telepítési áttekintés
1 Szervizkonzol 5 Minta beömlőnyílása
2 Automatikus tisztító modul 6 Minta kieresztőnyílása
3 Áramlásszabályozó 7 TU5300 sc vagy TU5400 sc
4 Áramlásérzékelő (külön beszerezhető)
3.2 A szervizkonzol felszerelése
A szervizkonzol felszereléséhez tekintse meg a TU5300 sc/TU5400 sc dokumentációt. A
szervizkonzolt a zavarosságmérővel együtt szállítják.
3.3 Az automatikus tisztító modul felszerelése
F I G Y E L M E Z T E T É S
Robbanásveszély. Ellenőrizze, hogy a leeresztőcső ne legyen eltömődve. Ha a
leeresztőcső eltömődött, beszűkült vagy meghajlott, a magas nyomás megtöltheti az
eszközt.
Magyar 229

Table of Contents