EasyManua.ls Logo

Hach TU5400 - 3.2 Namestitev servisnega nosilca; 3.3 Namestitev samodejnega čistilnega modula

Hach TU5400
414 pages
Print Icon
To Next Page IconTo Next Page
To Next Page IconTo Next Page
To Previous Page IconTo Previous Page
To Previous Page IconTo Previous Page
Loading...
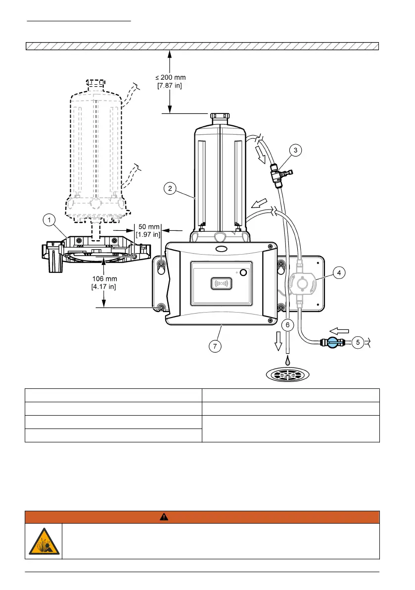
Slika 3 Pregled namestitve
1 Servisni nosilec 5 Dovod za vzorec
2 Samodejni čistilni modul 6 Izpust vzorca
3 Regulator pretoka 7 TU5300 sc ali TU5400 sc
4 Pretočni senzor (izbirno)
3.2 Namestitev servisnega nosilca
Za namestitev servisnega nosilca glejte dokumentacijo instrumentov TU5300 sc/TU5400 sc Servisni
nosilec je priložen tudbidimetru
3.3 Namestitev samodejnega čistilnega modula
O P O Z O R I L O
Nevarnost eksplozije. Pazite, da v odtočni cevi ne bo nobenih ovir. Če je odtočna cev
zamašena, preščipnjena ali zvita, lahko tlak v instrumentu močno naraste.
332 Slovenski

Table of Contents