EasyManua.ls Logo

Hach TU5400 - 3.2 Montiranje nosača za održavanje; 3.3 Montiranje modula automatskog čišćenja

Hach TU5400
414 pages
Print Icon
To Next Page IconTo Next Page
To Next Page IconTo Next Page
To Previous Page IconTo Previous Page
To Previous Page IconTo Previous Page
Loading...
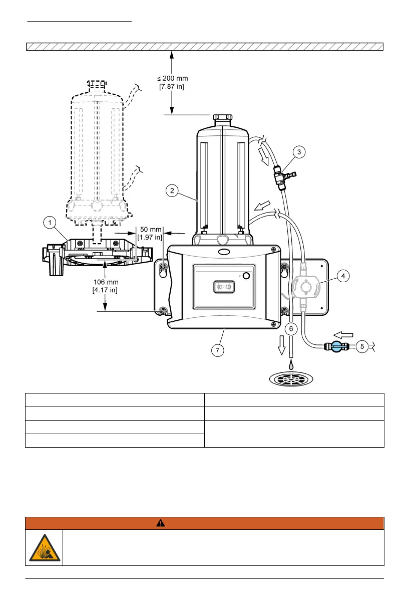
Slika 3 Pregled montiranja
1 Nosač za održavanje 5 Ulaz za uzorak
2 Modul automatskog čišćenja 6 Izlaz za uzorak
3 Regulator protoka 7 TU5300 sc ili TU5400 sc
4 Senzor protoka (opcionalno)
3.2 Montiranje nosača za održavanje
Pogledajte TU5300 sc / TU5400 sc dokumentaciju da biste montirali nosač za održavanje.
Turbidimetar se dobija uz nosač za održavanje.
3.3 Montiranje modula automatskog čišćenja
U P O Z O R E N J E
Opasnost od eksplozije. Obezbedite da odvodna cev ima neometan protok. Ako
je odvodna cev začepljena, pritisnuta ili savijena, u instrumentu može da nastane velik
pritisak.
400 Српски

Table of Contents