EasyManua.ls Logo

Hach TU5400 - 3.2 Montaggio della staffa di servizio; 3.3 Installazione del modulo di pulizia automatica

Hach TU5400
414 pages
Print Icon
To Next Page IconTo Next Page
To Next Page IconTo Next Page
To Previous Page IconTo Previous Page
To Previous Page IconTo Previous Page
Loading...
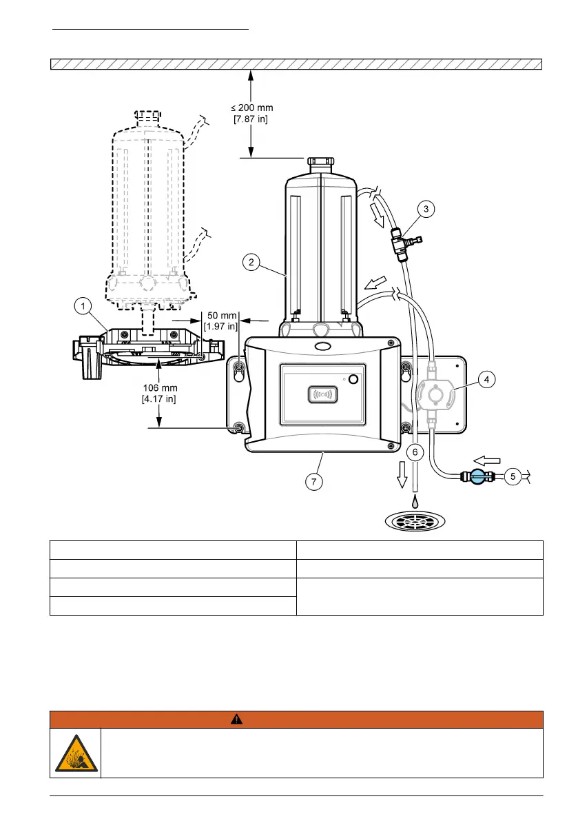
Figura 3 Panoramica di installazione
1 Staffa di servizio 5 Ingresso campione
2 Modulo di pulizia automatica 6 Uscita campione
3 Regolatore di flusso 7 TU5300 SC o TU5400 SC
4 Sensore di flusso (opzionale)
3.2 Montaggio della staffa di servizio
Fare riferimento alla documentazione TU5300 sc/TU5400 sc per installare la staffa di servizio. La
staffa di servizio è in dotazione con il torbidimetro.
3.3 Installazione del modulo di pulizia automatica
A V V E R T E N Z A
Pericolo di esplosione. Verificare che il tubo di scarico non sia ostruito. Se il tubo di
scarico è ostruito oppure è schiacciato o piegato lo strumento potrebbe essere
sottoposto a un innalzamento della pressione.
Italiano 41

Table of Contents