EasyManua.ls Logo

Hach TU5400 - 3.2 Instalação do suporte de serviço; 3.3 Instalação da unidade de limpeza automática

Hach TU5400
414 pages
Print Icon
To Next Page IconTo Next Page
To Next Page IconTo Next Page
To Previous Page IconTo Previous Page
To Previous Page IconTo Previous Page
Loading...
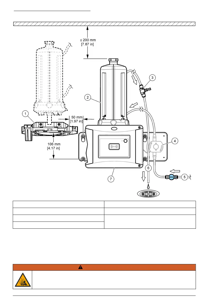
Figura 3 Descrição geral da instalação
1 Suporte de serviço 5 Entrada da amostra
2 Unidade de limpeza automática 6 Saída da amostra
3 Regulador do caudal 7 TU5300 sc ou TU5400 sc
4 Sensor de caudal (opcional)
3.2 Instalação do suporte de serviço
Consulte a documentação do TU5300 sc/TU5400 sc pra instalar o suporte de serviço. O suporte de
serviço é fornecido com o turbidímetro.
3.3 Instalação da unidade de limpeza automática
A D V E R T Ê N C I A
Perigo de explosão. Certifique-se de que o tubo de drenagem não está obstruído. Se o
tubo de drenagem estiver bloqueado, entalado ou dobrado, existe possibilidade de
formação de pressão elevada no equipamento.
92 Português

Table of Contents

Related product manuals