EasyManua.ls Logo

Hach TU5400 - 3.2 Установка сервисного кронштейна; 3.3 Установка модуля автоматической очистки

Hach TU5400
414 pages
Print Icon
To Next Page IconTo Next Page
To Next Page IconTo Next Page
To Previous Page IconTo Previous Page
To Previous Page IconTo Previous Page
Loading...
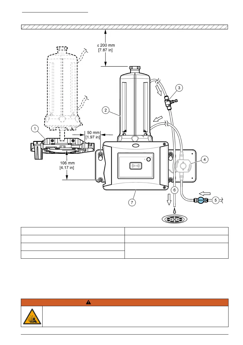
Рисунок 3 Обзор установки
1 Сервисный кронштейн 5 Вход пробы
2 Модуль автоматической очистки 6 Выход пробы
3 Регулятор расхода 7 TU5300 sc или TU5400 sc
4 Датчик расхода (опционально)
3.2 Установка сервисного кронштейна
О том, как установить сервисный кронштейн, см. документацию TU5300 sc/TU5400 sc.
Сервисный кронштейн поставляется вместе с мутномером.
3.3 Установка модуля автоматической очистки
П Р Е Д У П Р Е Ж Д Е Н И Е
Угроза взрыва. Убедитесь, что дренажная труба не засорена. Если дренажная
труба засорена, зажата или согнута, в инструменте может образоваться высокое
давление.
Русский 281

Table of Contents