EasyManua.ls Logo

Hach TU5400 - 3.2 Instalaţi consola de serviciu; 3.3 Instalarea unităţii de curăţare automată

Hach TU5400
414 pages
Print Icon
To Next Page IconTo Next Page
To Next Page IconTo Next Page
To Previous Page IconTo Previous Page
To Previous Page IconTo Previous Page
Loading...
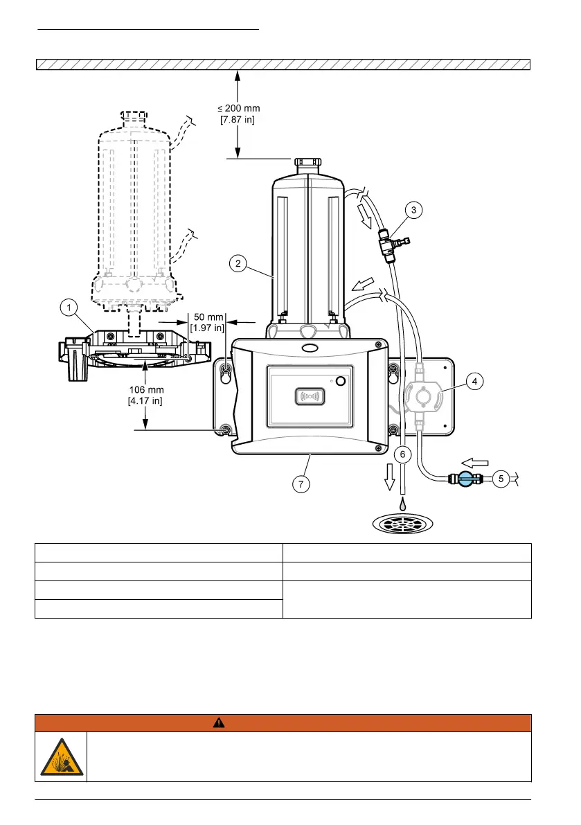
Figura 3 Prezentarea generală a instalării
1 Consolă de serviciu 5 Intrare probă
2 Modul de curăţare automată 6 Evacuare de probe
3 Regulator de debit 7 TU5300 sc sau TU5400 sc
4 Senzor de debit (opţional)
3.2 Instalaţi consola de serviciu
Consultaţi documentaţia TU5300 sc/TU5400 sc pentru a instala consola de serviciu. Consola de
serviciu este furnizată cu turbidimetrul.
3.3 Instalarea unităţii de curăţare automată
A V E R T I S M E N T
Pericol de explozie. Asiguraţi-vă că tubul de evacuare nu este obstrucţionat. Dacă tubul
de evacuare este blocat sau este prins sau îndoit, se poate acumula presiune înaltă în
instrument.
246 Română

Table of Contents