EasyManua.ls Logo

HBS CD 2301 - Page 53

HBS CD 2301
70 pages
Print Icon
To Next Page IconTo Next Page
To Next Page IconTo Next Page
To Previous Page IconTo Previous Page
To Previous Page IconTo Previous Page
Loading...
CD 2301 Order No. BA 92-12-0231A Issue 05.01.10 53
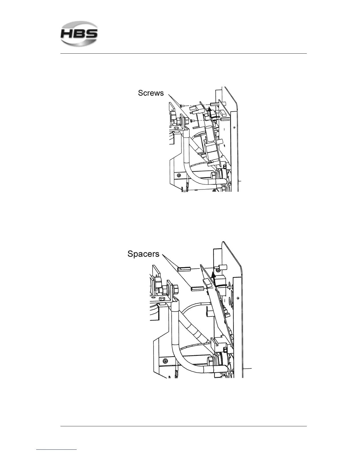
Remove the two screws.
Replace the electronic board. For re-assembly, proceed in reversed sequence.
Replace the electronic board 80-80-502V3.1
See changing the electronic board 80-80-5034). In addition, you must remove the
two spacers.
Replacement of the electronic board 80-80-502V3.1.
8 Appendix
8.2 Spare Parts

Related product manuals