EasyManua.ls Logo

Hitachi VIV-E553LE - Page 42

Hitachi VIV-E553LE
118 pages
Print Icon
To Next Page IconTo Next Page
To Next Page IconTo Next Page
To Previous Page IconTo Previous Page
To Previous Page IconTo Previous Page
Loading...
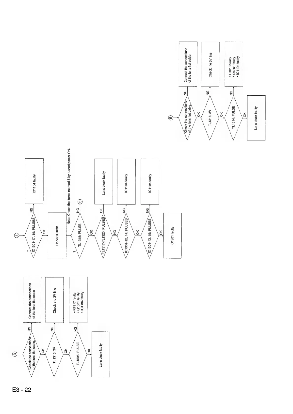
Aye}
yO0)|q
sua
AINE}
POLLO]
«
AINE}
LOELO
«
AINE}
OLELY
«
aul]
AE
BU
494
91429
JeI}
Sua]
Ey
JO
SUONOSBULOS
Su}
yoouuoy
[qed
yey
sug] ey}
JO
UOI@UUOD
By}
YOOYD
‘NO
Jemod
peuin)
Aq
$
peyseW
Sua}!
AU}
YO@YD
:a}0N
Ane}
LOLOL
Ayne}
401-9)
SAS1Nd
‘v1.
‘Z-LOSLO!
ANG}
POLLOI
Ayne}
yoo|q
suet
LOE
LOL
4984.
Ane}
POLLOI
SAS
1Nd
“64
‘Z!-LOELO!
Ayney
yO0|q
sua
ANE}
POLLO
«
AyNe}
LOELO
«
Ane}
Zt6LH
«
9ull
AE
OY}
498UD
BIQeO
ye]
SUB]
OU
JO
SUO!}DBUUOS
By}
JOSUUOD
@Iqeo
yey
sua]
OU)
JO
UOHOBUUOD
at)
yOeUD,
E3
-
22

Related product manuals