EasyManua.ls Logo

Hitachi VIV-E553LE - Troubleshooting of Autofocus

Hitachi VIV-E553LE
118 pages
Print Icon
To Next Page IconTo Next Page
To Next Page IconTo Next Page
To Previous Page IconTo Previous Page
To Previous Page IconTo Previous Page
Loading...
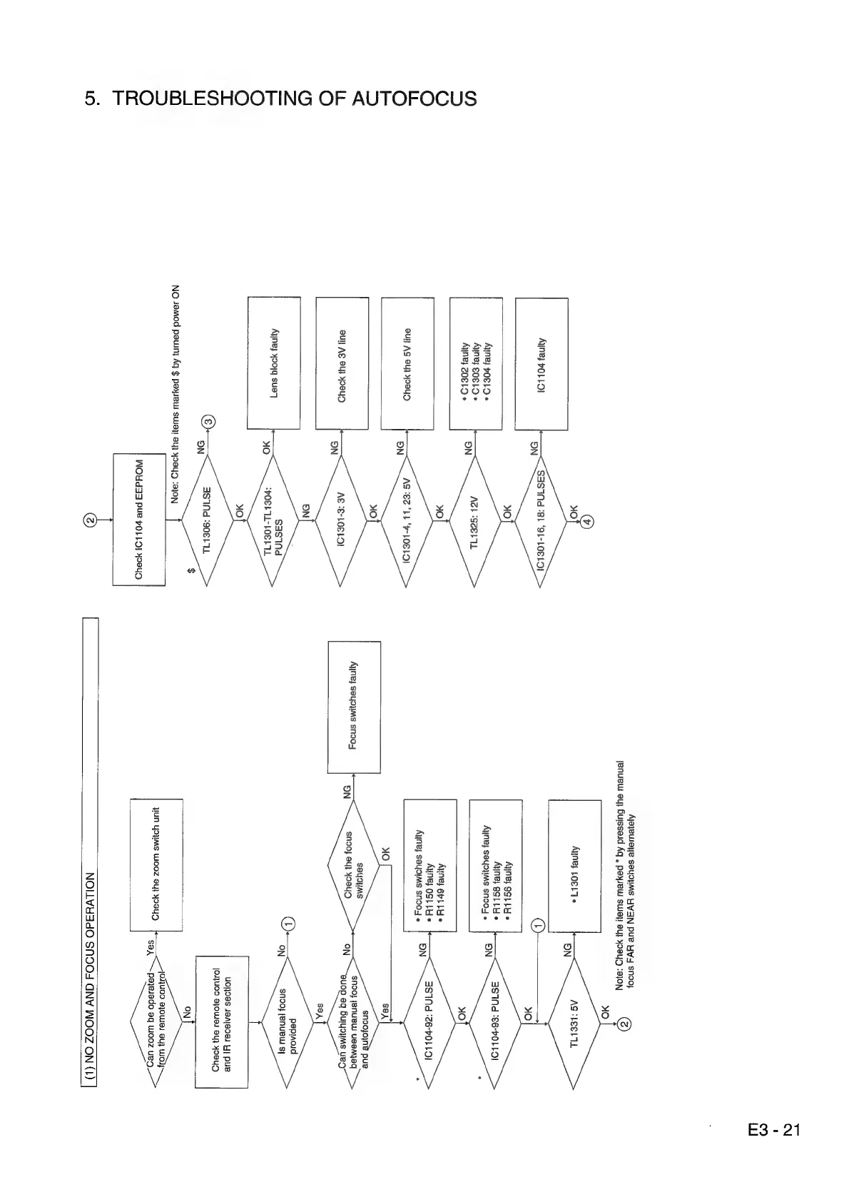
5.
TROUBLESHOOTING
OF
AUTOFOCUS
Ane}
POLLOI
SAS1Nd
‘81
‘9t-LOELO!
ANE}
YOELD
«
Aue}
EOELO
»
8ull
AG
84}
Y98YD
aul
AE
84)
Y99YD
Ane}
ZOELO
«
-———————————
Ayne}
yOo|q
sue
sasind
yO
*VOELTL-LOELTL
NO
Jemod
peusny
Aq
¢
pexsew
Sway!
ay)
YD9YD
:9]0N
40
(€)
ai
3S1Nd
:908FL
;
WOud33
Puke
£01
LO)
49eUD
Jenuew
ou)
Buisseid
Aq
,
payeu
Swe}
ey]
yOeYD
:e10N
@
ye)
Ayney
,OE17«
ON
AINGS
OSL
LH
«
ANNES
BSL
LY
©
Ayney
sayoyms
snood
«
3SNd
‘€6-p01
bl
ANE}
GY
LLY
«
ANE}
OSL
LH
©
Ayney
sayoims
sn904
«
3S1Nd
‘26-7011
snoojoyn®
pue
Snoo}
jenuew
usemyeq
auop
aq
Buiyoyms
ued
S@YOIMS
Ayney
seyoums
snd04
snoo}
ayy
yaa
pepiaoid
Snoo}
fenueW
Ss}
UO}O9S
JOAIE0e1
Y]
PUB
JOU
ajoWe
ay)
yOaYD
JofjuoO
ajoures
ayy
WO)
WUN
YdUMS
WOOZ
BUI
HSU
Isa,
pareiedo
eq
wooz
ueD
Se
NOLLWH3dO
SNOOJ
CNV
WOOZ
ON
(1)
|
E3-21

Related product manuals