EasyManua.ls Logo

HP StorageWorks 8/8 - SAN Switch - Installing the Outer Rails (HP 10000 Series Racks); Assembling the Outer Rails (HP 10000 Series Racks)

HP StorageWorks 8/8 - SAN Switch
110 pages
Print Icon
To Next Page IconTo Next Page
To Next Page IconTo Next Page
To Previous Page IconTo Previous Page
To Previous Page IconTo Previous Page
Loading...
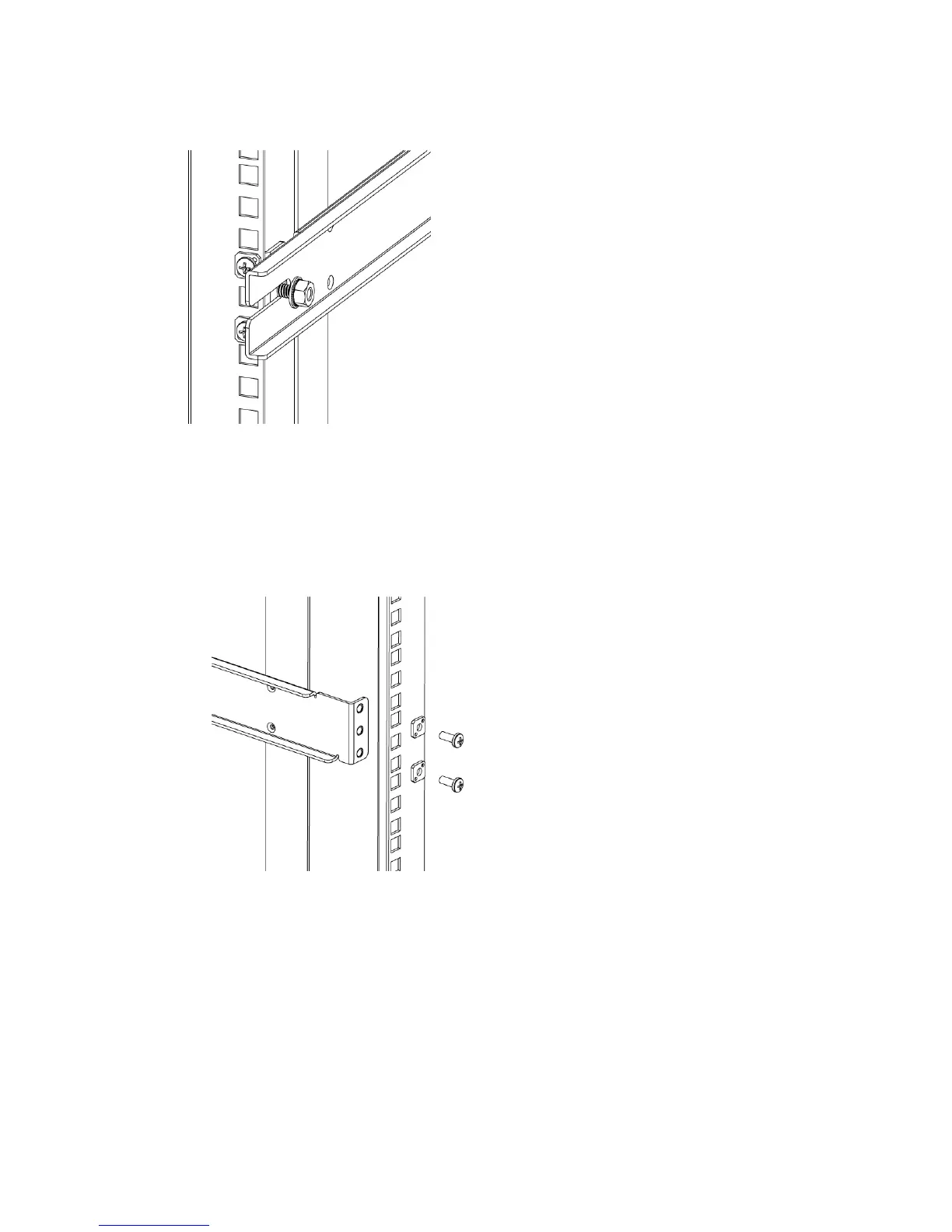
4. Assemble the outer rails:
a. Attach the left outer rail and the right outer rail to the rear mounting brackets, using two
1/4-20 hex nuts with captive star lock-washers attached loosely, as shown in Figure 13. Do
not tighten the nuts.
Figure 13 Installing the outer rails (HP 10000 series racks)
b. Depending on the rack you are using, complete one of the following tasks:
For HP 10000 series racks, install two #10-32 x 1/2-inch Phillips pan-head screws with
captive star lock-washers and two #10 adapter washers in the upper and lower hole
locations of the right rail. Then install two #10-32 x 1/2-inch Phillips pan-head screws
with captive star lock-washers and two #10 adapter washers in the upper and lower
hole locations of the left rail. See Figure 14.
Figure 14 Assembling the outer rails (HP 10000 series racks)
Installing and configuring an 8-Gb SAN Switch40

Table of Contents

Other manuals for HP StorageWorks 8/8 - SAN Switch

Related product manuals