EasyManua.ls Logo

IBM TS4300 3555 - Rewinding Tape into Cartridge

IBM TS4300 3555
262 pages
Print Icon
To Next Page IconTo Next Page
To Next Page IconTo Next Page
To Previous Page IconTo Previous Page
To Previous Page IconTo Previous Page
Loading...
5. Turn the supply reel ( 4 ) clockwise, allowing the moistened tape to adhere to the hub as it winds
around the supply reel (inside the cartridge).
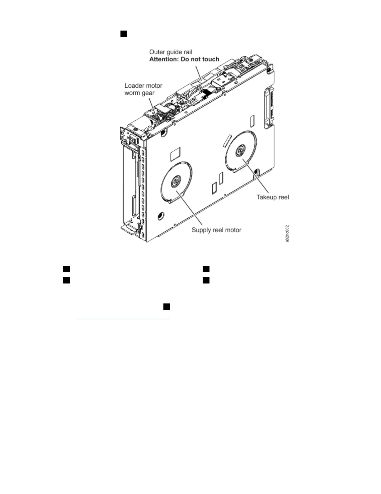
Figure 106. Rewinding tape into cartridge
1
Loader motor worm gear 3 Takeup reel motor
2 Outer guide rail (WARNING: Do
Not Touch)
4 Supply reel motor
6. Continue spooling into the cartridge until the tape is taut and remains within the flanges of the tape
guiding rollers. Turn the supply reel ( 4 ) 10 more turns. Ensure that you do not stretch the tape.
7. Go to “Ending procedure” on page 197.
Appendix D. Manual cartridge removal procedure
183

Table of Contents

Related product manuals