EasyManua.ls Logo

IBM TS4300 3555 - Page 70

IBM TS4300 3555
262 pages
Print Icon
To Next Page IconTo Next Page
To Next Page IconTo Next Page
To Previous Page IconTo Previous Page
To Previous Page IconTo Previous Page
Loading...
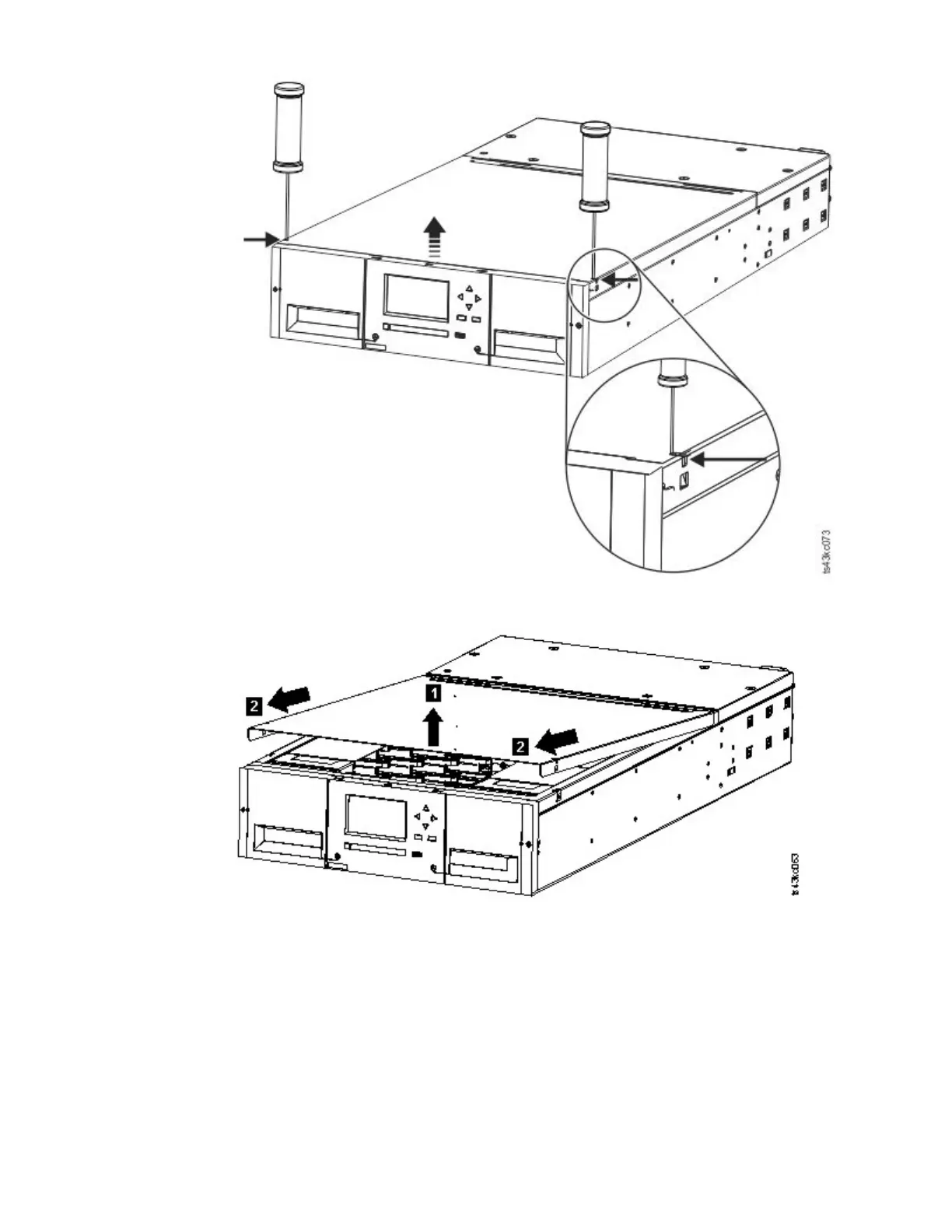
Figure 27. Unlatching the top of the module
Figure 28. Removing the top of the module
6. Remove the foam packing from the inside of the module.
40
IBM TS4300 Tape Library Machine Type 3555: User's Guide

Table of Contents

Related product manuals