EasyManua.ls Logo

Integra DTR-5.9 - Connecting Satellite;Cable Receivers

Integra DTR-5.9
116 pages
Print Icon
To Next Page IconTo Next Page
To Next Page IconTo Next Page
To Previous Page IconTo Previous Page
To Previous Page IconTo Previous Page
Loading...
29
Connecting Your Components
—Continued
With this hookup, you can use your satellite or cable receiver to listen to your favorite TV programs
via the AV receiver, which is useful if your TV has no audio outputs.
•With connection , you can listen to and record audio from the video source or listen in Zone 2.
•To enjoy Dolby Digital and DTS, use connection or . (To record or listen in Zone 2 as well, use and ,
or and .)
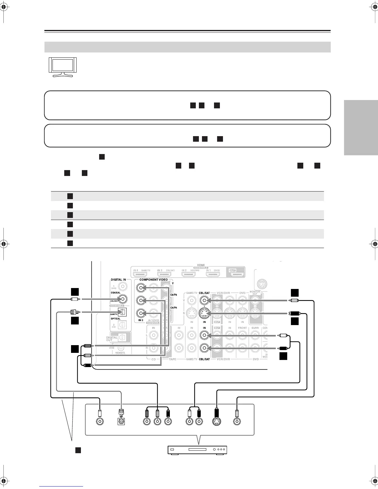
Connecting a Satellite, Cable, Terrestrial Set-top box, or Other Video Source
Connection AV receiver Signal flow Video source Picture quality
COMPONENT VIDEO IN 2
Component video output Best
CBL/SAT IN S
S-Video output Better
CBL/SAT IN V
Composite video output Standard
CBL/SAT IN L/R
Analog audio L/R output
DIGITAL IN COAXIAL 2
Digital coaxial output
DIGITAL IN OPTICAL 1
Digital optical output
Hint!
Step 1: Video Connection
Choose a video connection that matches the video source ( , , or
), and then make the connection.
You must connect the AV receiver to your TV with the same type of connection.
A
B
C
Step 2: Audio Connection
Choose an audio connection that matches the video source ( , , or ), and then make the connection.
a b c
a
b c a b
a c
A
B
C
a
b
c
ANTENNA
FM
AM
75
SIRIUS
YCOAXIAL
OUT
PB
COMPONENT VIDEO OUT
P
R S VIDEO
OUT
AUDIO
OUT
VIDEO
OUT
LR
OPTICAL
OUT
b
c
A
B
C
B
a
C
Satellite, cable, set-top box, etc.
Connect one or the other
Connection must be
assigned (see page 45)
c
DTR-5.9En.book Page 29 Tuesday, April 15, 2008 9:53 AM

Table of Contents

Other manuals for Integra DTR-5.9

Related product manuals