EasyManua.ls Logo

Invacare electra - 2.4 Driving and Freewheel Safety

Invacare electra
36 pages
Print Icon
To Next Page IconTo Next Page
To Next Page IconTo Next Page
To Previous Page IconTo Previous Page
To Previous Page IconTo Previous Page
Loading...
Invacare
®
Electra Service Manual
Page 14 As at:15.04.02
9 Maintenance and repair
9.1 Seat unit
Detail: Backrest Detail: Seat:
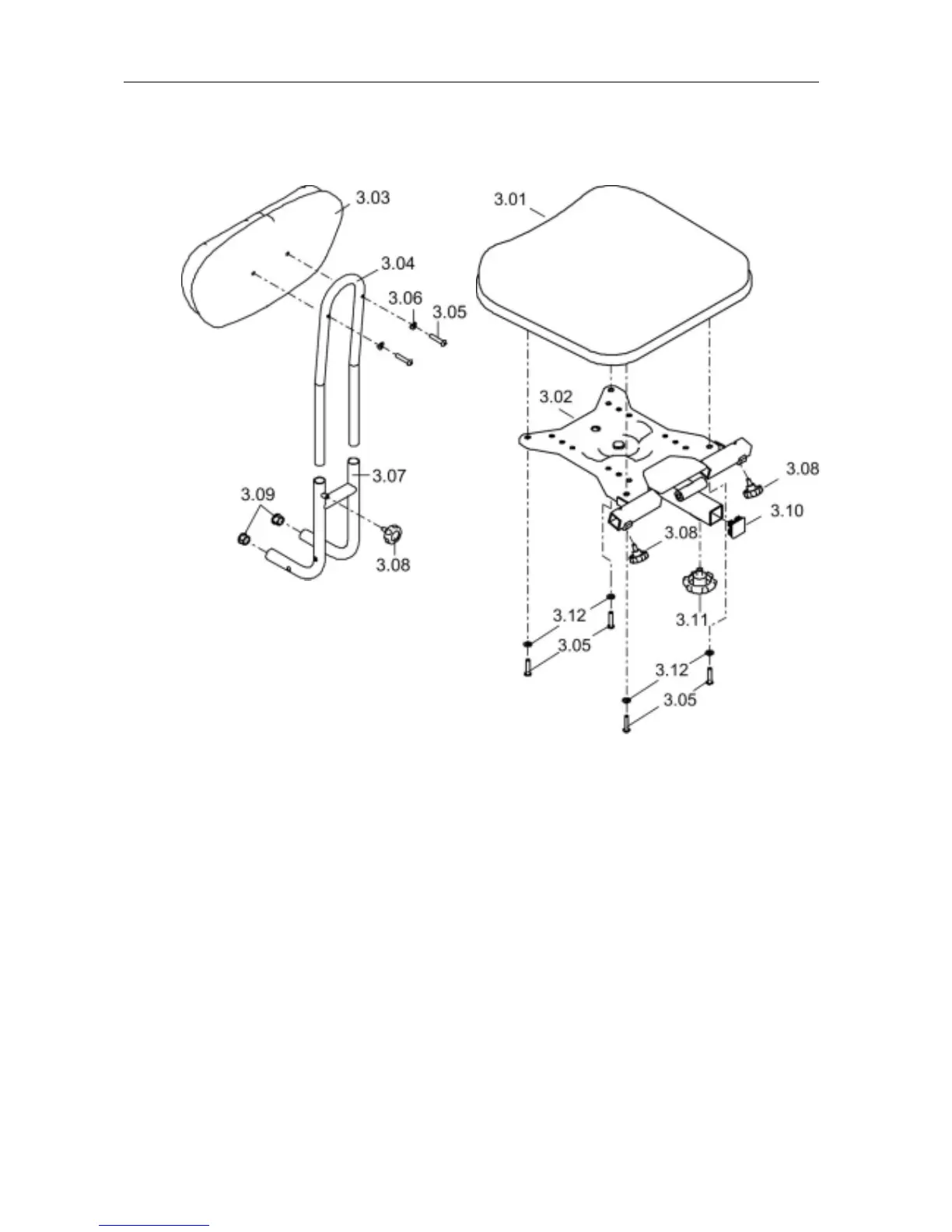
9.1.1 Components: Backrest and seat
Item Qty. Description Item Qty. Description
3.01
3.02
3.03
3.04
3.05
3.06
1
1
1
1
6
2
Seat S232, black
Seat plate
Backrest S232, black
Top backrest tube S232
Bolt, M6 X 30
Washer
3.07
3.08
3.09
3.10
3.11
3.12
1
3
2
1
1
4
Bottom backrest tube S232
Knob, black
Plug, black
End plug 30 X 30,black
Knob, M10 X 13
Washer

Table of Contents

Other manuals for Invacare electra

Related product manuals