EasyManua.ls Logo

Invacare electra - Components: Seat Unit

Invacare electra
36 pages
Print Icon
To Next Page IconTo Next Page
To Next Page IconTo Next Page
To Previous Page IconTo Previous Page
To Previous Page IconTo Previous Page
Loading...
Service Manual Invacare
®
Electra
As at: 15.04.02 Page 15
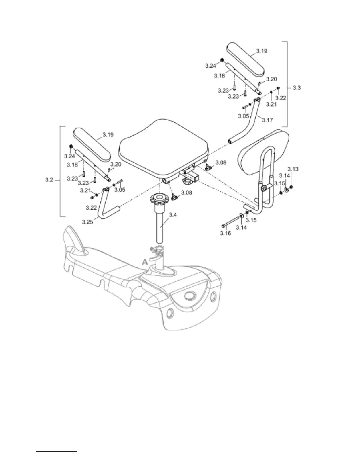
9.1.2 Components: Seat unit
Item Qty. Description Item Qty. Description
3.05
3.08
3.13
3.14
3.15
3.16
3.17
3.18
3.19
2
2
1
2
2
1
1
2
2
Bolt, M6 X 30
Knob, black
Nut M8, self-locking
Spring washer M8
Washer, M8 X 1,5
Pin, M8 X 110
Armrest tube RH
Armrest tube
Armrest upholstery, black
3.20
3.21
3.22
3.23
3.24
3.25
3.4
2
2
2
4
2
1
Bolt, M6 X 16
Washer, M6 X 1
Nut, M6 with plastic cap
Bolt, M6 X 30
Plug, black
Armrest tube, LH
Seat tube, complete

Table of Contents

Other manuals for Invacare electra

Related product manuals