EasyManua.ls Logo

Invacare electra - 6 Control Console; 6.1 Control Console Layout

Invacare electra
36 pages
Print Icon
To Next Page IconTo Next Page
To Next Page IconTo Next Page
To Previous Page IconTo Previous Page
To Previous Page IconTo Previous Page
Loading...
Service Manual Invacare
®
Electra
As at: 15.04.02 Page 21
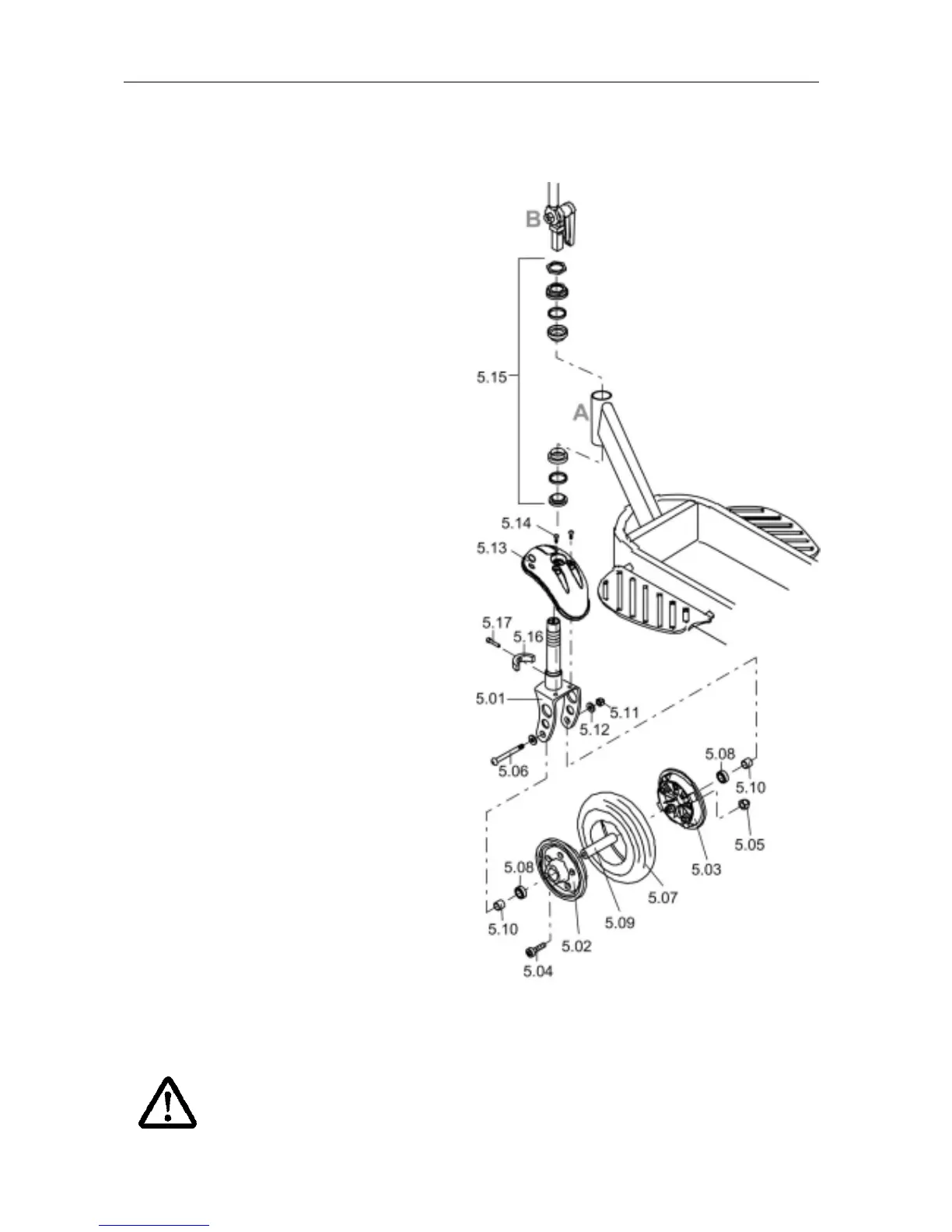
9.5 Steering fork / front wheel
9.5.1 Components:
Item Qty. Description
5.01
5.02
5.03
5.04
5.05
5.06
5.07
5.08
5.09
5.10
5.11
5.12
5.13
5.14
5.15
5.16
5.17
1
1
1
4
4
1
1
2
1
2
1
1
1
2
1
1
1
Front wheel fork
Wheel rim 200 X 50 5H, black
Wheel rim 200 X 50 6H, black
Bolt, M6 X 30
Nut M6 self-locking
Axle, M8 X 82
Tyre 200 X 50, puncture-proof
Bearings 608 ZZ
Spacer bush, 11 X 42 X 1,2
Spacer bush 11 X 3,1 X 1,2
Nut M8, self-locking
Washer, M8
Front wheel cover
Bolt, M6 X 10
Bearing set, 8-pc. for front wheel
fork
Stopper for steering stop
Pin, M6 X 25
9.5.2 Components involved:
A Chassis (chapter: 9.4 page: 20)
B Steering column (chapter: 9.2 page: 17)
9.5.3 Preparation for reassembly
Raise the Scooter and place on a suitable support (such as wooden block).
The steering wheel must not be subjected to load.
CAUTION: Danger of crushing!
Secure the raised Scooter against slipping and rolling away.

Table of Contents