EasyManua.ls Logo

Johnston VT551 - Water System; Suction Fan; Hopper Raise; Hopper Lower

Johnston VT551
108 pages
Print Icon
To Next Page IconTo Next Page
To Next Page IconTo Next Page
To Previous Page IconTo Previous Page
To Previous Page IconTo Previous Page
Loading...
Page Issue 02
Chapter - Hydraulic System
8:3
VT551 - Maintenance
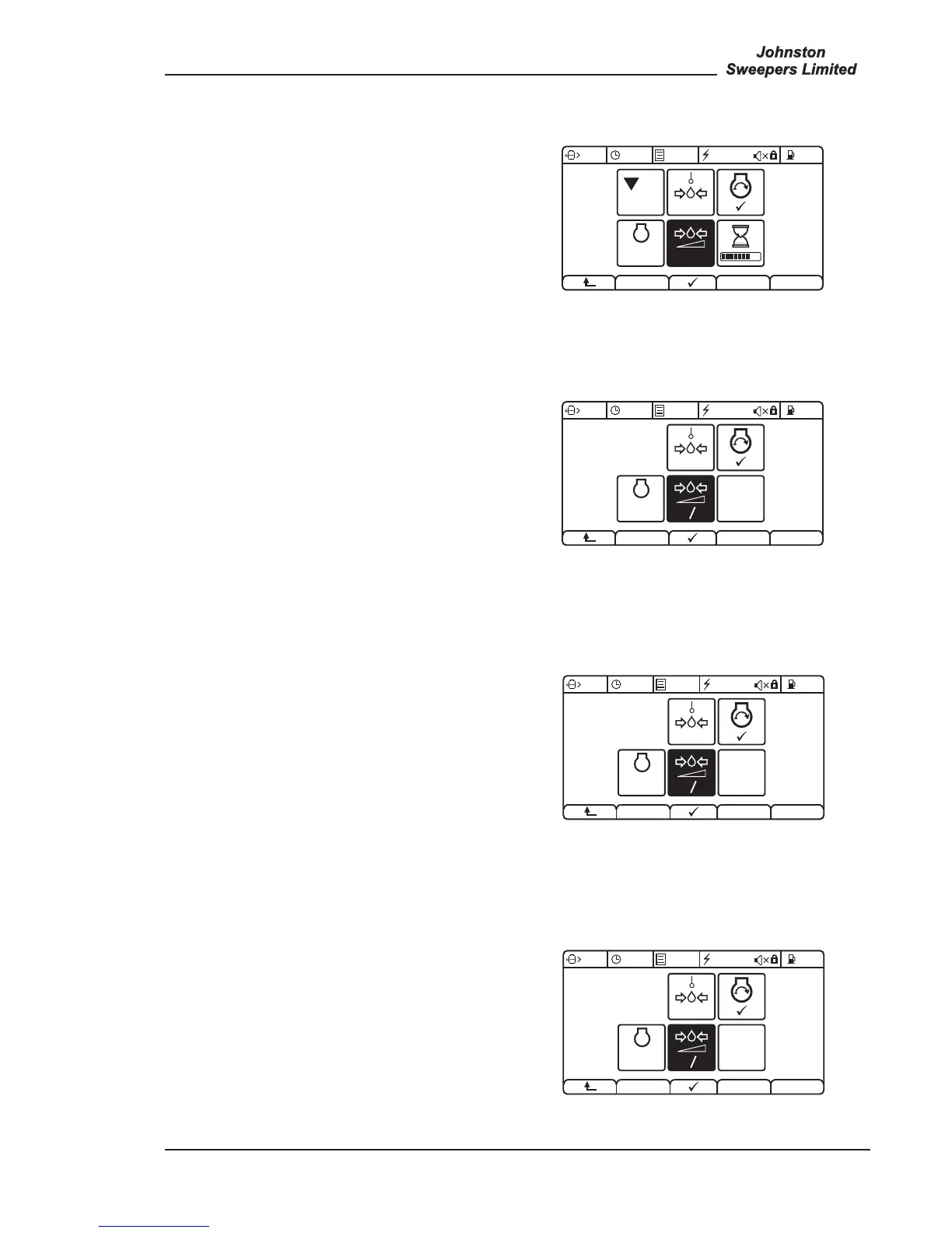
WATER SYSTEM - MENU 4.11.2
Connect a suitable 250 bar gauge to test point T9.
Follow the on screen CANview instructions.
This pressure should be 220 bar. Remember to cap off
hose 206 when port W1 is plugged.
If necessary manually adjust RV2.
SUCTION FAN - MENU 4.11.3
Fit a 250 bar minimum pressure gauge to test point T8.
Follow the on screen CANview instructions.
This pressure should be 150 bar.
If necessary press + or - to adjust the pressure to 150 bar
± 5. Press to save setting.
HOPPER RAISE - MENU 4.11.4
Connect a suitable 250 bar gauge to Test Point T8.
Follow the on screen CANview instructions.
This pressure should be 175 bar.
If necessary press + or - to adjust the pressure to 175 bar
± 5. Press to save setting.
HOPPER LOWER - MENU 4.11.5
Connect test point as detailed above and follow the on
screen CANview instructions.
This pressure should be 80 bar.
If necessary adjust pressure by pressing + or -.
Press to save setting.
93OG. 027-37
50%
14:00
25%4.11.2
T9
W1
BLOCK 4
RV2
1800
n/min
93OG. 027-38
50%
14:00
25%4.11.3
T8
1800
n/min
+
-
+
-
RP
409MA
93OG. 027-39
50%
14:00
25%4.11.4
T8
1400
n/min
+
-
+
-
RP
348MA
93OG. 027-40
50%
14:00
25%4.11.5
T8
1400
n/min
+
-
+
-
RP
204MA
All Copyright and rights are the property of Johnston Sweepers Ltd

Table of Contents

Related product manuals