EasyManua.ls Logo

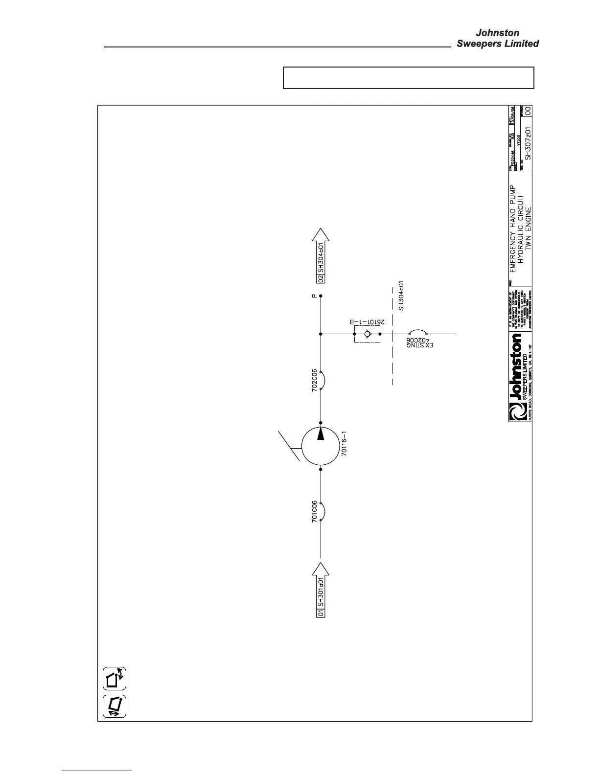
Johnston VT551 - Emergency Hand Pump - Diagram Sh307 Z01

Johnston VT551
108 pages
Print Icon
To Next Page IconTo Next Page
To Next Page IconTo Next Page
To Previous Page IconTo Previous Page
To Previous Page IconTo Previous Page
Loading...
Page Issue 01
Chapter - Hydraulic System
8:11
VT551 - Maintenance
Emergency Hand Pump - Diagram SH307z01
All Copyright and rights are the property of Johnston Sweepers Ltd

Table of Contents

Related product manuals