EasyManua.ls Logo

Johnston VT551 - Channel Brush Motor - Removal and Refitting; Channel Brush Cylinder - Removal and Refitting

Johnston VT551
108 pages
Print Icon
To Next Page IconTo Next Page
To Next Page IconTo Next Page
To Previous Page IconTo Previous Page
To Previous Page IconTo Previous Page
Loading...
Page Issue 01
Chapter - Remove and Refit Procedures
13:3
VT551 - Maintenance
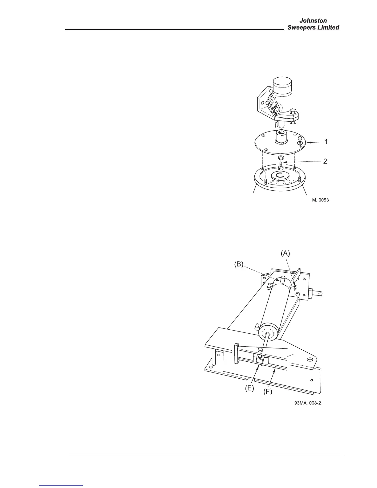
3. CHANNEL BRUSH MOTOR - REMOVAL AND REFITTING
1. Unscrew the four nuts (A) from the coach b olts
securing the channel brush to the drive adaptor plate
and remove brush.
2. Unscrew the retention screw (B) from the centre of the
drive adaptor plate and remove plate. A special tool,
Part No. 48094-1, is available for this purpose.
3. Disconnect the two hydraulic hoses from the motor.
4. Unscrew the two bolts securing the motor to mounting
bracket and lift off motor.
5. Refitting is the reverse of removal.
4. CHANNEL BRUSH CYLINDER - REMOVAL AND REFITTING
1. Isolate air supply at FR unit.
2. Disconnect the 2 air hoses from the rear.
3. Remove clip on pin (A) and push through.
4. Remove pin (B) by pushing through.
5. Remove cylinder eye pivot bolt (E) from the
lever pivot head (F).
6. Refit is reverse.
7. Grease items (E) and (B) prior to refitting.
All Copyright and rights are the property of Johnston Sweepers Ltd

Table of Contents

Related product manuals