EasyManua.ls Logo

JUKI LK-1920 - Installing the Thread Stand; Installing the Auxiliary Throat Plate Cover

JUKI LK-1920
67 pages
Print Icon
To Next Page IconTo Next Page
To Next Page IconTo Next Page
To Previous Page IconTo Previous Page
To Previous Page IconTo Previous Page
Loading...
12
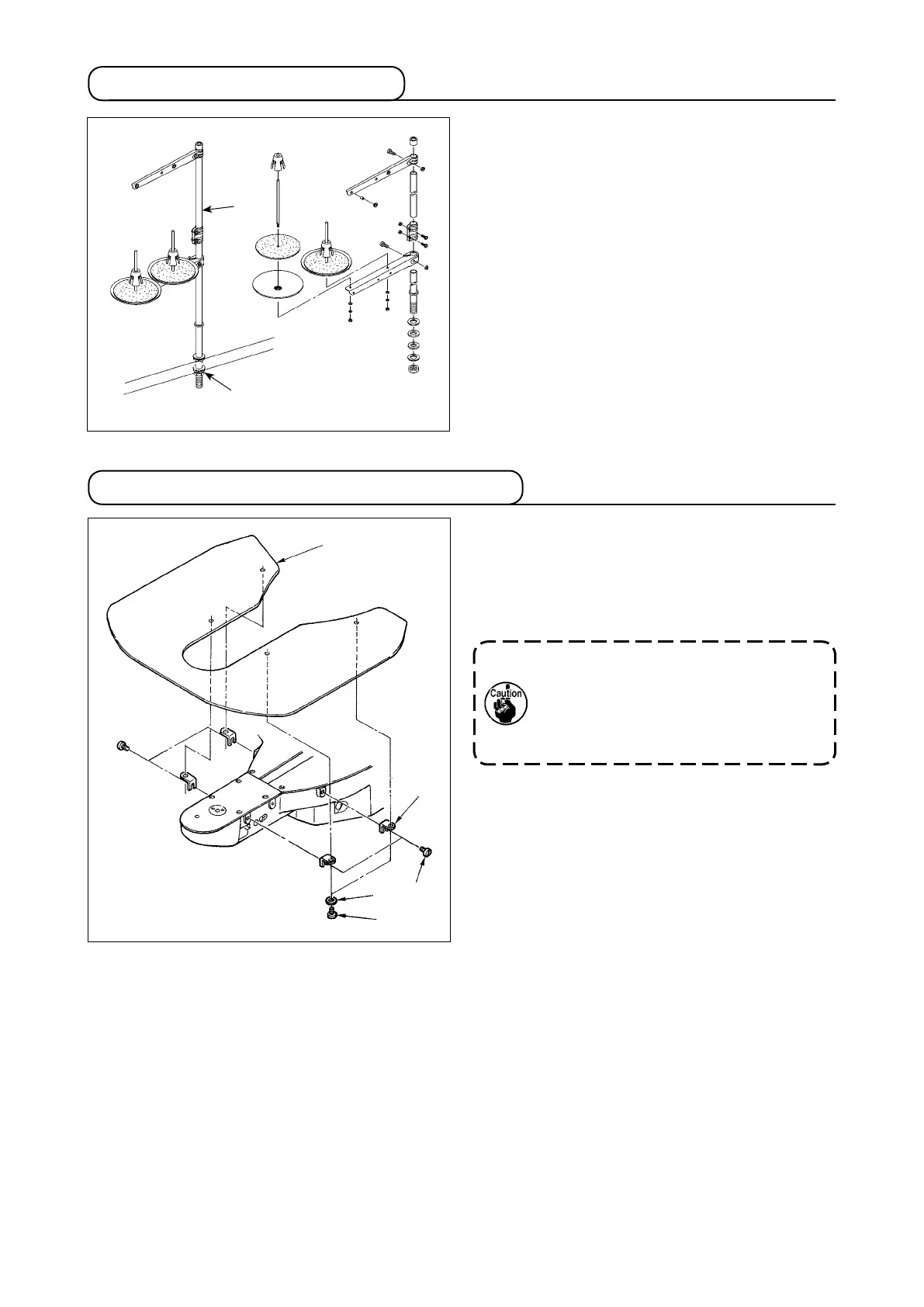
3-13. Installing the thread stand
1) Assemble the thread stand unit, and insert it
in the hole in the machine table.
2) Tighten locknut
to x the thread stand.
3) For ceiling wiring, pass the power cord
through spool rest rod
.
1) Install the auxiliary throat plate cover support
to auxiliary throat plate cover
using set-
screw
(L = 6) and washer
.
2) Install the cover on the machine arm using
attaching screw
(L = 8).
3-14. Installing the auxiliary throat plate cover
Adjust so that the auxiliary throat plate
cover should be almost levelled with
the throat plate. If there is a difference
in height, the feed plate may be caught
with the auxiliary throat plate cover.

Table of Contents

Other manuals for JUKI LK-1920

Related product manuals