EasyManua.ls Logo

JUKI LK-1920 - Attaching and Removing the Bolt for Transportation

JUKI LK-1920
67 pages
Print Icon
To Next Page IconTo Next Page
To Next Page IconTo Next Page
To Previous Page IconTo Previous Page
To Previous Page IconTo Previous Page
Loading...
13
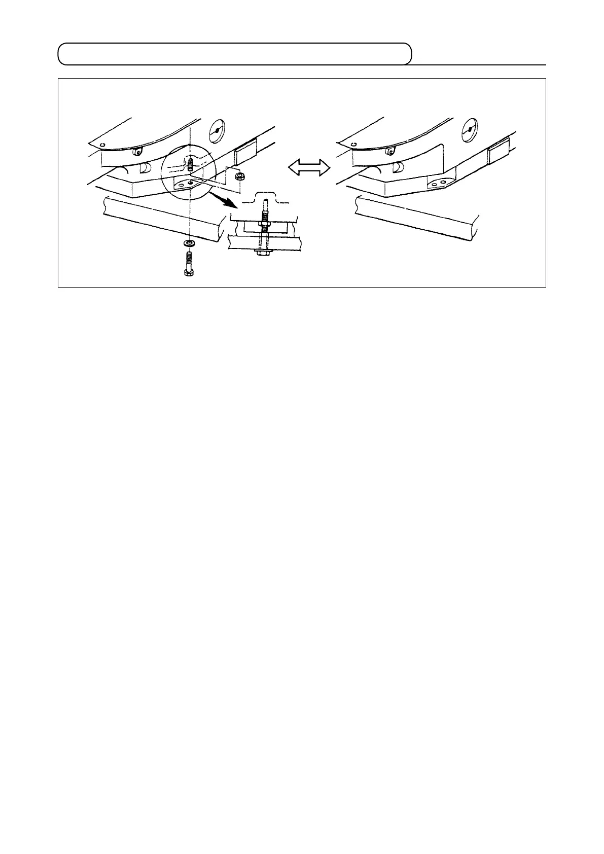
3-15. Attaching and removing the bolt for transportation
When transporting the sewing machine, x the sewing machine main unit and table with the bolt for
transportation.
When operating the sewing machine, remove the bolt. If the machine is operated with the bolt xed,
vibration of the machine head is transmitted to the table. As a result, feed movement may be badly
affected or the element inside the control box may be damaged.
(When transporting the
sewing machine)
(When using the
sewing machine)

Table of Contents

Other manuals for JUKI LK-1920

Related product manuals