EasyManua.ls Logo

Kamstrup MULTICAL 801 - Page 16

Kamstrup MULTICAL 801
28 pages
Print Icon
To Next Page IconTo Next Page
To Next Page IconTo Next Page
To Previous Page IconTo Previous Page
To Previous Page IconTo Previous Page
Loading...
16 Kamstrup A/S • 5512603_C1_GB_03.2016
MULTICAL® 801
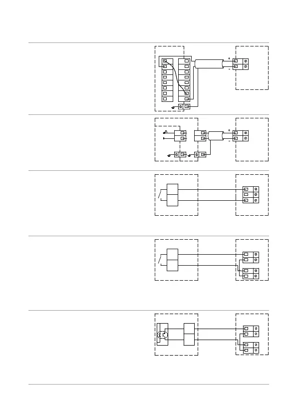
Auxiliry voltge from E+ nd E- is
dded to the pssive contct output
P of the flow sensor before the signl
is connected to the glvniclly
seprted flow sensor input. This
permits  cble length of up to 100 m
between flow sensor nd clcultor.
KROHNE
ALTOFLUX
MULTICAL® 801
V1 (V2)
10B (69B)
11B (79B)
P
P
E+
E-
PE
The ctive pulse output of the flow
sensor is connected to the glvniclly
seprted flow sensor input directly.
This permits  cble length of up
to 100 m between flow sensor nd
clcultor.
BAILEY FISCHER & PORTER
COPA/MAG-XE
MULTICAL® 801
10B (69B)
11B (79B)
V1 (V2)
10
9
V3
V1
PEPE
24V+
(V9)
(V8)
COPA/MAG-XM/CM
The pssive contct output of the
flow sensor on terminls 56 nd
57 is connected directly to the flow
sensor input which is not glvniclly
seprted. This permits  cble length
of mx. 10-20 m between flow meter
nd clcultor.
MULTICAL® 801
SITRANS
57
56
11
9
10
Auxiliry voltge from terminls 97A
nd 98A is dded to the pssive
contct output of the flow sensor
on terminls 56 nd 57 before the
signl is connected to the glvniclly
seprted flow sensor input. This
permits  cble length of up to 100 m
between flow sensor nd clcultor.
MULTICAL® 801
SITRANS
57
56
10B
11B
97A
98A
Auxiliry voltge from terminls 97A
nd 98A is dded to the pssive
contct output on terminls 24 nd
25 before the signl is connected to
the glvniclly seprted flow sensor
input. This permits  cble length of
up to 100 m between flow sensor nd
clcultor.
MULTICAL® 801
E + H Promg
25
24
10B
11B
97A
98A

Other manuals for Kamstrup MULTICAL 801

Related product manuals