EasyManua.ls Logo

Knoll Antenna Workspaces - Page 15

Knoll Antenna Workspaces
148 pages
Print Icon
To Next Page IconTo Next Page
To Next Page IconTo Next Page
To Previous Page IconTo Previous Page
To Previous Page IconTo Previous Page
Loading...
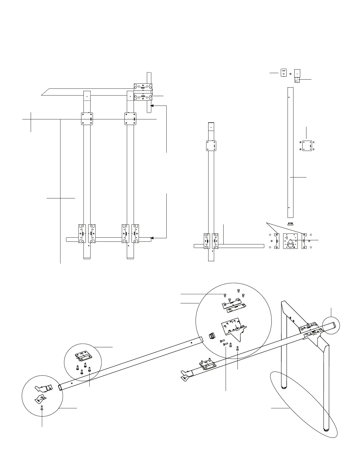
Desk with Return (Inset Leg on Return)
Return Rail Clamp
Bottom Bracket (E)
Return Rail
Hook Top
Bracket (D)
W-Bracket (F)
Return Rail
Desk
Assembly
Return
Assembly
Desk
End Leg
Exploded Return Assembly Detail
Desk with Return Plan View Exploded Return Assembly Plan View
Cradle Clamp
Bracket (B)
Horizontal
Rail
Cradle (A)
Steps 2, 3 and 10
Step 12
Step 4
Steps 8 and 11
Steps 5 and 6
Aligned (Use
install gauge to
properly locate.
See Install
Gauge
Guidelines.)
Horizontal
rail cradle on
desk must be
positioned at
end of rail.
¼-20 x
5
/
8
" machine
screw (I)
¼-20 x 1" Machine Screw (H)
#14 x 1" FH Wood Screw (J)
¼-20 x 1" Machine Screw (H)
#14 x 1" FH Wood
Screw (J)

Table of Contents