EasyManua.ls Logo

Kohler KBS - Isolating the Transfer Switch, 1600-4000 Amp Models

Kohler KBS
80 pages
Print Icon
To Next Page IconTo Next Page
To Next Page IconTo Next Page
To Previous Page IconTo Previous Page
To Previous Page IconTo Previous Page
Loading...
TP-6835 9/1770 Section 7 Bypass, Isolation, and Manual Transfer
7.4.2 Iso lating the Transfer Switch,
1600--4000 Amp Models
Bypass the ATS before isolating it. See Section 7.4.1.
Note: Tu rn the isolation handle until the position shows
clearly through the position window. Do not leave
the handle in an intermediate position.
1. Turn the isolation handle counterclockwise
(approximately 16 turns for 1600--3000 amps, 12
turns for 4000 amps) until the position window
shows TEST. See Figure 7-55 and Figure 7-56.
The ATS can be tested now without load
interruption.
Note: In the TEST position, the power switching
device solenoid operator circuit is energized
through secondary disconnects.
CONN
TEST
ISOLATE
Unfold
crank
Position
window
Turning the handle counterclockwise draws out
the transfer switch.
Figure 7-55 Isolation Handle
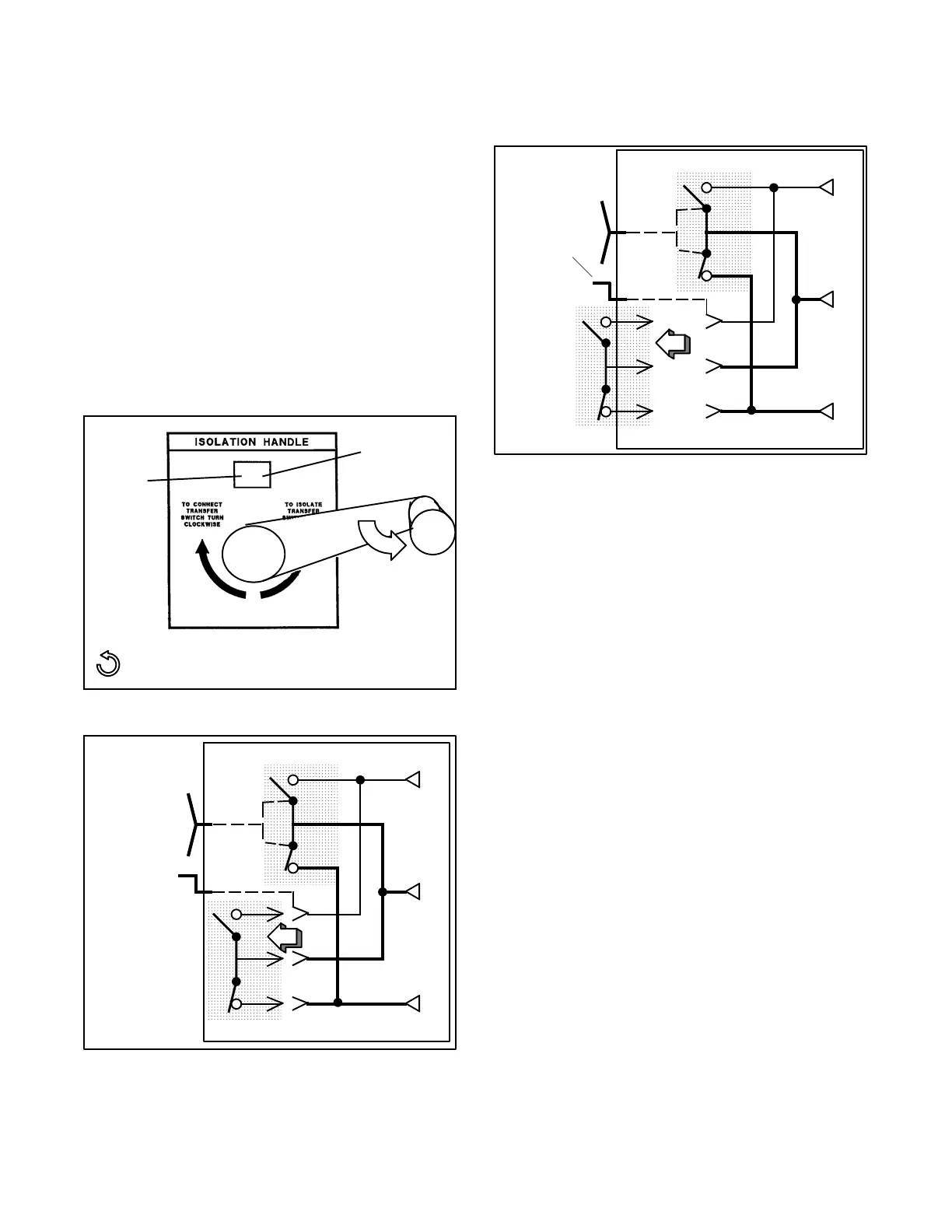
E
L
N
Automatic Transfer Switch
Bypass Switch
Turn crank
counter-
clockwise
until window
shows
TEST.
Figure 7-56 From CONNECTED to TEST Position
2. Continue turning the isolation handle
counterclockwise (approx. 7 turns for 1600--3000
amps, 8 turns for 4000 amps) until the position
window shows ISOLATE. See Figure 7-57.
E
L
N
Turn crank
counter-
clockwise
until
window
shows
ISOLATE.
Automatic Transfer Switch
Bypass Switch
Figure 7-57 From TEST to ISOLATE Position

Table of Contents

Related product manuals