EasyManua.ls Logo

Lenovo ThinkPad E585 - Page 93

Lenovo ThinkPad E585
106 pages
Print Icon
To Next Page IconTo Next Page
To Next Page IconTo Next Page
To Previous Page IconTo Previous Page
To Previous Page IconTo Previous Page
Loading...
When installing: Ensure that the connectors are attached firmly.
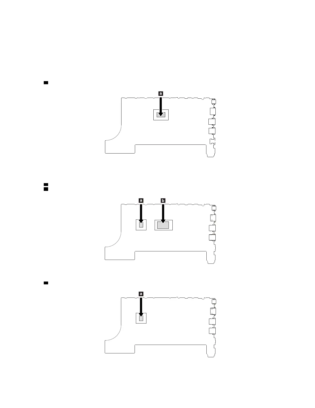
Attention: The following components soldered on the top side of the system board are extremely sensitive.
When you service the system board, avoid any kind of rough handling.
ThinkPad E585
For models with an integrated thermal module
a Microprocessor
ThinkPad E580
For models with a discrete thermal module
a Microprocessor
b Graphics Processing Unit (GPU)
For models with an integrated thermal module
a Microprocessor
Chapter 9. Removing or replacing a FRU 87

Table of Contents

Other manuals for Lenovo ThinkPad E585

Related product manuals