EasyManua.ls Logo

Lenovo ThinkPad E585 - 2010 LCD Bezel

Lenovo ThinkPad E585
106 pages
Print Icon
To Next Page IconTo Next Page
To Next Page IconTo Next Page
To Previous Page IconTo Previous Page
To Previous Page IconTo Previous Page
Loading...
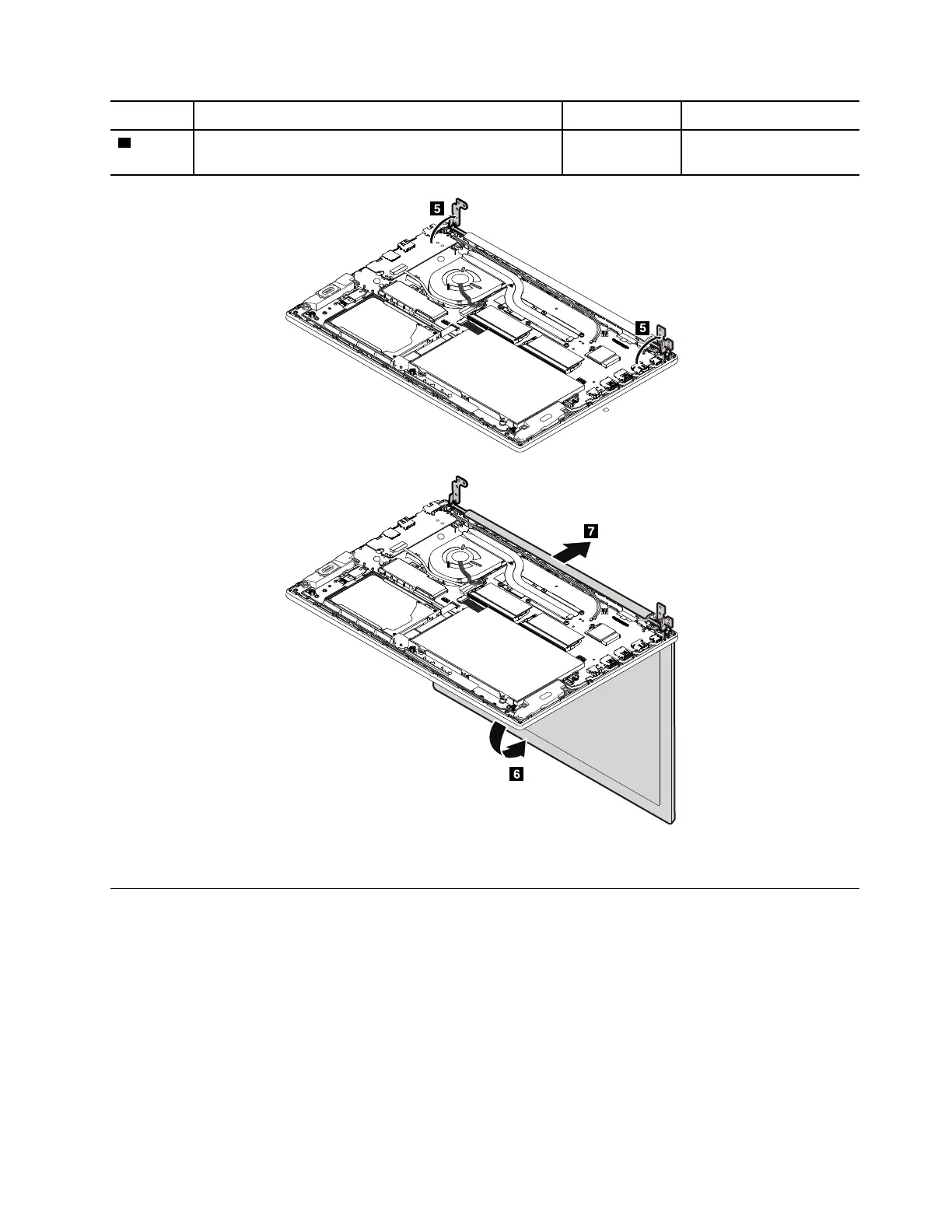
Step Screw (quantity) Color Torque
4
M2.5 × 4.5 mm, wafer-head, nylon-coated, small head
(6)
Silver
0.294 Nm
(3 kgf-cm)
When installing: Ensure that the LCD connector is attached firmly.
2010 LCD bezel
For access, remove these FRUs in order:
“1150 LCD unit” on page 88
Chapter 9. Removing or replacing a FRU 89

Table of Contents

Other manuals for Lenovo ThinkPad E585

Related product manuals