EasyManua.ls Logo

Linak LA12 - IC Actuators: With Endstop Signals; IC Actuator with Endstop Signals Connection Diagram

Linak LA12
39 pages
Print Icon
To Next Page IconTo Next Page
To Next Page IconTo Next Page
To Previous Page IconTo Previous Page
To Previous Page IconTo Previous Page
Loading...
LA12| 20
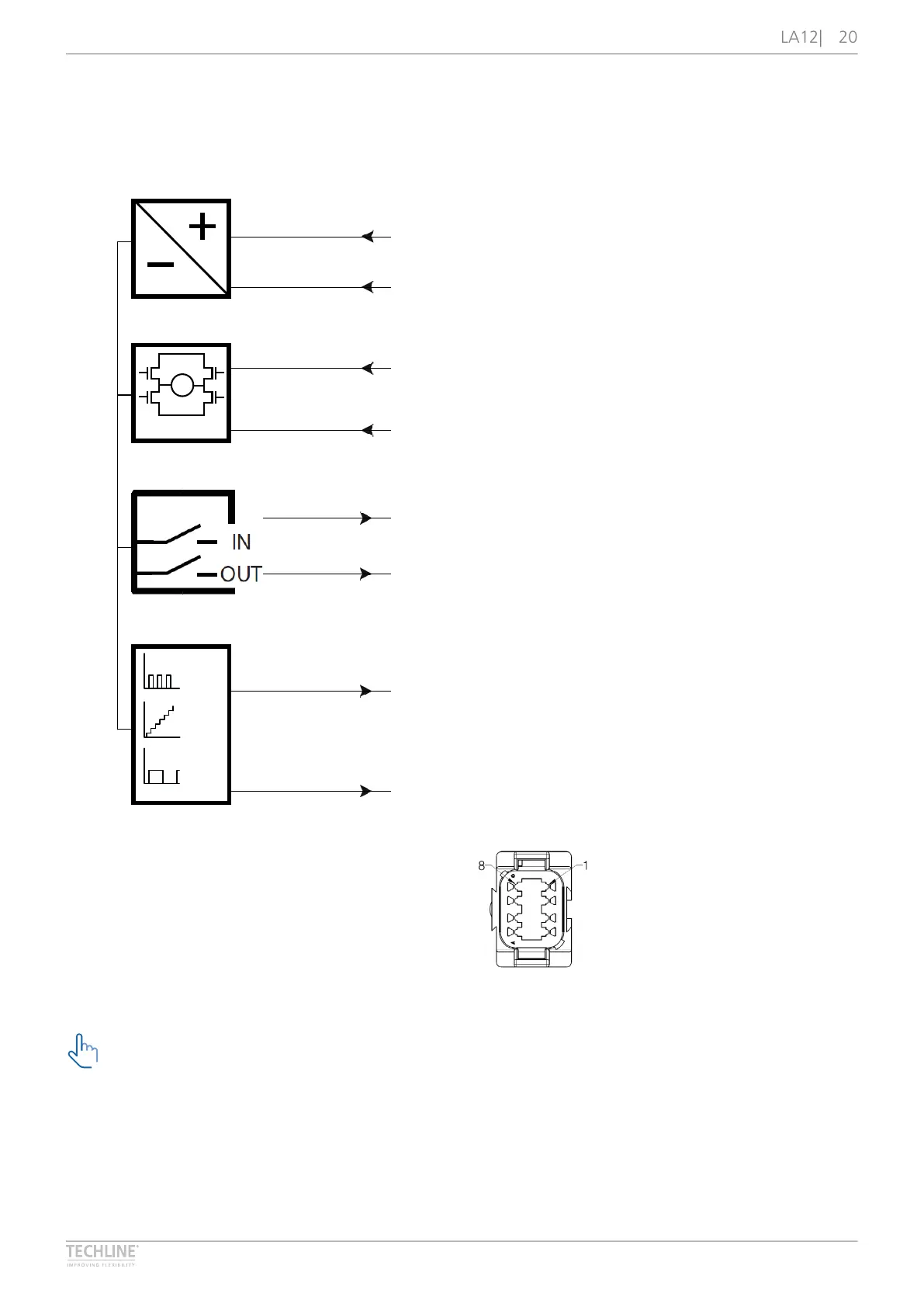
Actuator with IC and Endstop Signals
Connection diagram
Fig� 10: 12xxxx-xxxxxxx8
10
2019 © LINAK A/S
IC (with endstop signal)
12XXXX-XXXXXXX8
YELLOW
GREEN
BLACK
RED
INWARDS
OUTWARDS
M
H-Bridge
BROWN
BLUE
WHITE
VIOLET
FEEDBACK
SIGNAL GND/READY
Hall
Hall Pot
PWM
50%50%
Please be aware that if the power supply is not properly connected, you might damage the actuator!
2
1
5
3
4
7
8
6
DEUTSCH
Please be aware that if the power supply is not properly connected, you might damage the actuator!
Go to table of contents

Related product manuals