EasyManua.ls Logo

Masterflex MFLX07525-20 - Copy Mode Screen

Masterflex MFLX07525-20
66 pages
Print Icon
To Next Page IconTo Next Page
To Next Page IconTo Next Page
To Previous Page IconTo Previous Page
To Previous Page IconTo Previous Page
Loading...
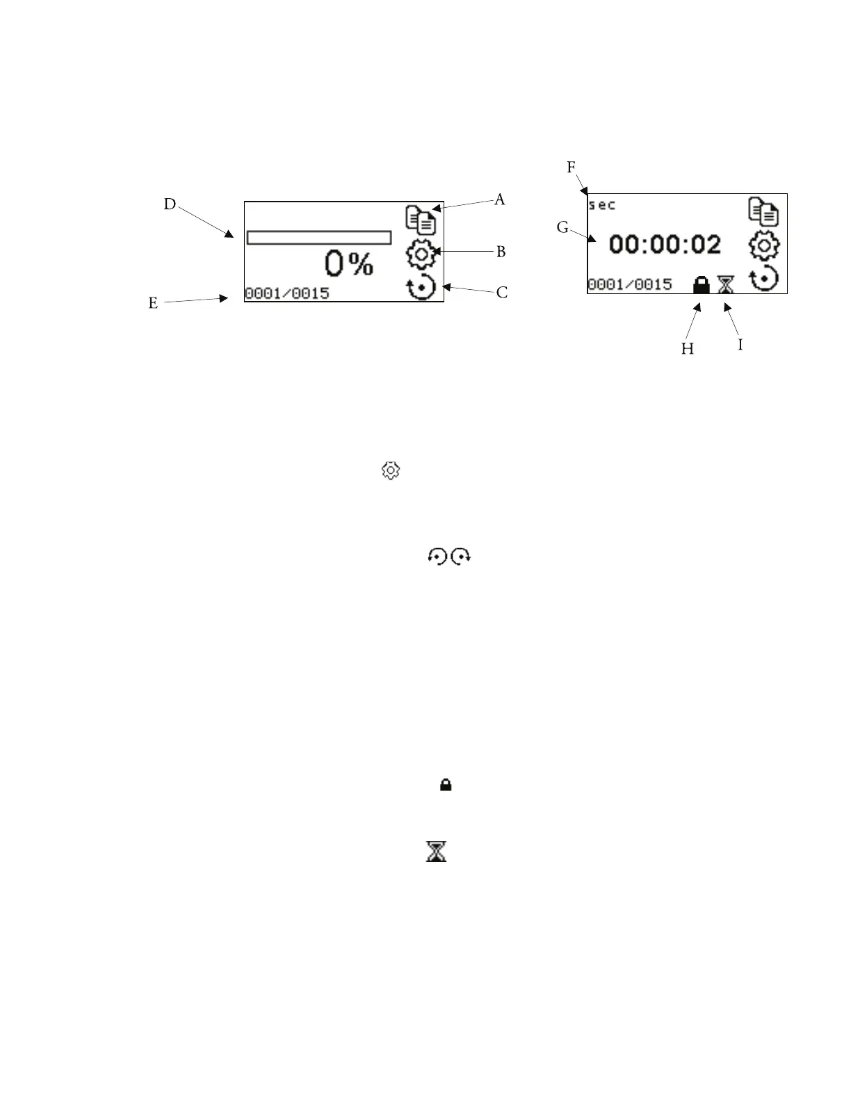
Display Legend: Below is a screenshot of the screen display for the drive in
Copy Mode. An explanation of the information on the screen follows.
Figure 3-17. Copy Mode Screens.
A. Mode Display: Current operating mode in which the drive will operate.
Pressing ENTER key when highlighted will cycle between continuous
mode and copy mode.
B. Settings : Pressing the ENTER key on this icon goes to the Setup
menu. e Setup Menu contains all the functions for Copy Mode, which
includes: Flow Rate (RPM only), Copy, Batch Count and Off Time. e
Setup menu also provides access to the Global Options Menu.
C. Flow Direction : Pressing the ENTER key on this icon toggles
between clockwise and counterclockwise flow direction.
D. Dispense progress bar: e center progress bar will show the progress and
% of the copy dispensed.
E. Batch Count: Informative only. Displayed are the number of copies
dispensed of the total copies.
F. Time unit: Informative only. is icon indicates that you are in the Off
Time screen.
G. Time: Informative only. is displays the countdown of the Off Time.
H. Keypad Lockout : Informative only. is icon will display when the
keypad lockout is turned on in the setting menu. Locking the keypad will
prevent someone from changing the settings on the drive.
I. Off Time Icon : Informative only. is icon will only display when
an Off Time is set.
Copy Mode Screen
3-32 MASTERFLEX
®
Digital Pump Drive Operating Manual Masterflex
Section 3
Operation

Related product manuals