EasyManua.ls Logo

Metos PROVENO E - Positioning of Installation Frames

Metos PROVENO E
72 pages
Print Icon
To Next Page IconTo Next Page
To Next Page IconTo Next Page
To Previous Page IconTo Previous Page
To Previous Page IconTo Previous Page
Loading...
|
49
PROVENO E
Rev. 1.2 (24.08.2016)
Installation
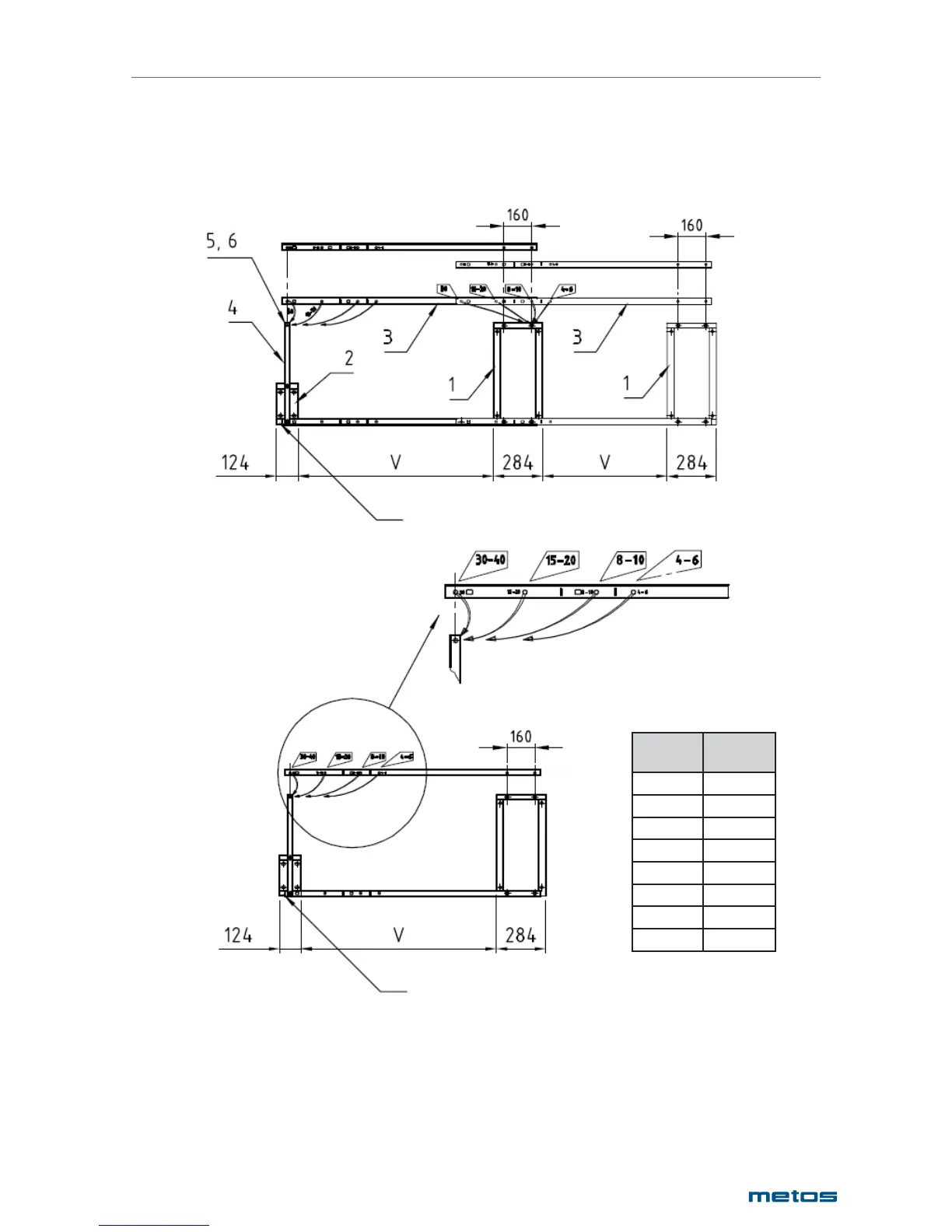
5.2.3. Positioning of installation frames
Combined kettles
Frame front edges must be aligned
Frame front edges must be aligned
Sin
g
le kettle
Model V
40E 613
60E 613
80E 720
100E 720
150E 926
200E 926
300E 1126
400E 1126
1. Control pillar frame
Subsurface 3604544
Surface 3604545
2. Support pillar frame
Subsurface 4215233
Surface 4215231
3. Installation guide 3601113
4. Spacer guide 3604144
5. Hex bolt M12 x 25
6. Hex nut M12
Model V
(mm)
40E 613
60E 613
80E 720
100E 720
150E 926
200E 926
300E 1126
400E 1126

Table of Contents

Related product manuals