EasyManua.ls Logo

Microscan HAWK MV-4000 - Page 41

Microscan HAWK MV-4000
142 pages
Print Icon
To Next Page IconTo Next Page
To Next Page IconTo Next Page
To Previous Page IconTo Previous Page
To Previous Page IconTo Previous Page
Loading...
Connecting to the I/O Interface
System Components
2
HAWK MV-4000 Smart Camera Guide 2-27
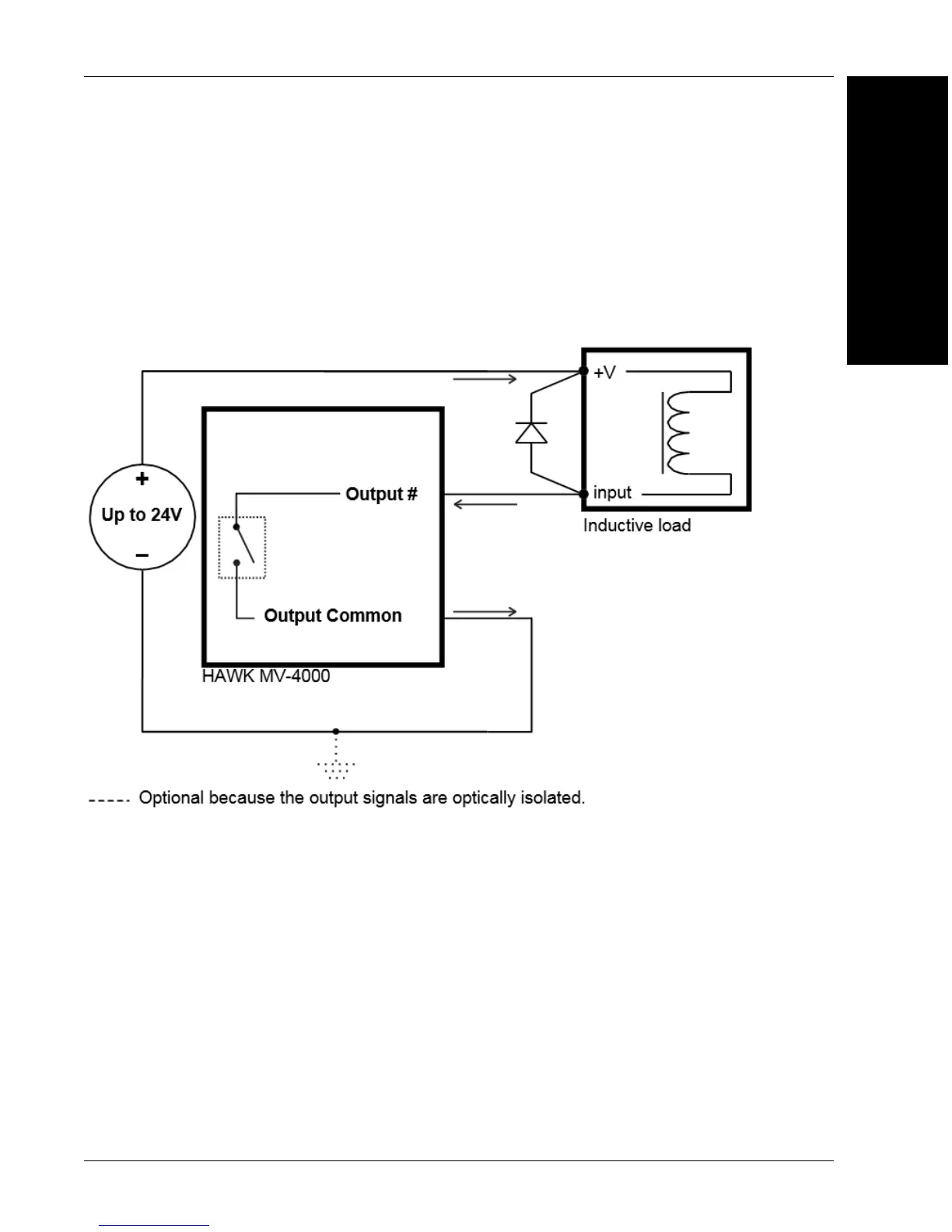
Connecting an Output Signal to an Inductive Load Input
To connect a HAWK MV-4000 output signal to an inductive load input, follow the diagram
as shown below.
An inductive load device, such as a traditional relay, requires that you use a flyback diode
to protect HAWK MV-4000 from over and under-voltage, as shown below. This diode
should be connected as close as possible to the input and voltage source of your inductive
load device.
(Equivalent circuit only.)

Table of Contents

Related product manuals