Home
Milton Roy
Water Pump
mRoy A
Page 41 (FIGURE 20. Mroy a Metallic Low Pressure and High Pressure Liquid End)
Milton Roy mRoy A - FIGURE 20. Mroy a Metallic Low Pressure and High Pressure Liquid End
79 pages
Manual
Save Page as PDF
To Next Page
To Next Page
To Previous Page
To Previous Page
Loading...
41
Installation, Operations & Maintenance Manual
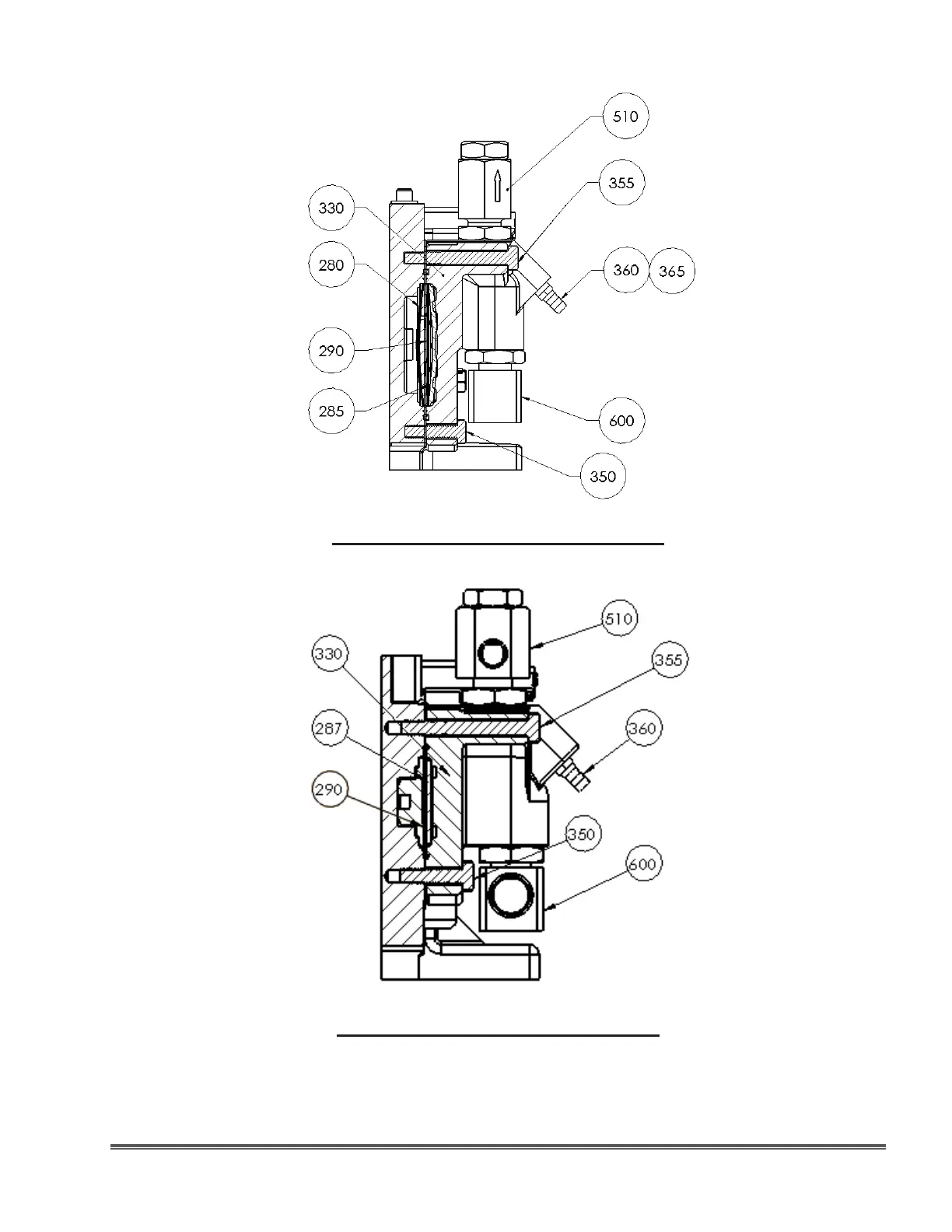
Figure 20. mRoy
A
Metallic Liquid Ends
(DWG 999-2009-0003 & 999-2009-0004)
mRoy
A: E,F PLUNGER LIQUID ENDS
mRoy
A: C,D PLUNGER LIQUID END
40
42
Table of Contents
Main Page
Table of Contents
5
Section 1 - General Description
8
Introduction
8
General Information
8
Pump Characteristics
8
Pump Performance
8
Principle of Operation
8
General Specifications
9
Figure 1. Pump Operation with By-Pass Port Open
9
Figure 2. Pump Operation with By-Pass Port Closed
10
MODEL CODE (Figure 4)
11
FIGURE 3 . Mroy C, D, E & F Model Code
11
FIGURE 4 . Mroy C, D, E & F Model Code
12
RPM KITS (Figure 5)
13
FIGURE 5 . Mroy A/B Routine Maintenance Kit List, by Model Code
13
CAPACITY PRESSURE TABLE (Figure 6)
14
FIGURE 6 . Mroy a - Metalllic Liquid Ends Capacity / Pressure Table
14
FIGURE 7 . Mroy B - Metallic Liquid Ends Capacity/Pressure Table
14
FIGURE 8 . Mroy a - Plastic Liquid Ends Capacity / Pressure Table
15
FIGURE 9 . Mroy B - Plastic Liquid Ends Capacity / Pressure Table
16
Figure 11. Mroy Pump (All Models) Capacity Derating Table
16
Section 2 - Installation
17
Unpacking/Inspection
17
Storage
17
Safety Precautions
18
Pump Mounting & Lifting/Location
18
Outdoor Installations
18
Figure 14. Mounting Bolt Holes
19
Flange Mounted Motors
20
Electrical Connections
20
Motors
20
Pump Lubrication
20
Piping
21
Figure 15. Typical Piping and Instrumentation Diagram
22
Operation with Suction Lift
23
Section 3 - Operation
24
Initial Start-Up
24
Resetting the Relief Valve
25
Operation
26
Section 4 - Maintenance
27
Spare Parts
27
Rpm Kit Components
27
Returning Units to the Factory
27
Routine Maintenance
28
Semi Annual Oil Change
28
Check Valve Cartridges
28
Diaphragm(S)
28
Relief Valve Poppet
29
Corrective Maintenance
29
Check Valve Cartridge Replacement
29
Metallic Liquid Ends (Figures 19, 20, 21 & 24)
29
Mroy a Plastic Liquid End, Current Design (Figure 19)
30
Mroy B Plastic Liquid End (Figure 24)
30
Relief Valve Poppet Replacement (Figure 18)
31
Diaphragm Replacement (Figures 19-26)
31
Motor and Worm Replacement (Figures 17 & 18)
32
Control Spool O-Rings Replacement (Figure 17, 19 & 20)
32
Worm Gear Replacement (Figure 17)
33
Connecting Rod and Plunger Replacement (Figure 17)
33
Head Bot Torque Pattern
34
Figure 16. Diaphragm Head Bolt Torque Pattern
34
Section 5 - Troubleshooting Guide
35
Section 6 - Parts
37
General
37
Illustrated Parts List
37
FIGURE 17 . Common Parts - Mroy a & B Side View and API Motor Mount
38
FIGURE 18 . Common Parts - Mroy a & B End View and Mroy a Close Coupled Motor Mount
39
FIGURE 19 . Mroy a Metallic and Plastic Liquid End
40
FIGURE 20 . Mroy a Metallic Low Pressure and High Pressure Liquid End
41
FIGURE 21 . Mroy a Bar Stock Liquid End
42
FIGURE 22 . Mroy a Double Diaphragm and Leak Detection
43
FIGURE 23 . Mroy a and B Actuator
45
BASIC PARTS LIST for DRIVE MODELS Mroy a (FIGURES 17 &18)
46
PARTS COMMON to LIQUID END MODELS Mroy a (FIGURES 19 & 20)
48
(Figure 20)
49
Model High Viscosity Suction Check Valve Parts (Figure 19)
50
Model Mra Plastic Liquid End Parts(C, D, E, & F) (Figure 19 )
51
Mroy a MOTOR MOUNT PARTS (FIGURES 17 & 18)
53
Electronic Capacity Control Mounting (Figure 23)
57
Pneumatic Capacity Control (3-15 Psi Direct, Figure 23)
58
Simplex Leak Detection Parts (Figure 22)
58
Double Diaphragm Parts (Figure 22)
60
FIGURE 24 . Mroy B Metallic and Plastic Liquid End
62
FIGURE 25 . Mroy B Leak Detection with Switch and Gauge
63
FIGURE 26 . Mroy B Double Diaphragm
64
BASIC PARTS LIST for DRIVE MODELS Mroy B (FIGURES 17 & 18)
65
LIQUID END Mroy B - LARGE HEAD LIQUID ENDS (FIGURE 24)
65
LIQUID END Mroy B - SMALL HEAD LIQUID END (FIGURE 24)
66
MODEL Mroy B12 & M12 PLASTIC LIQUID END PARTS (FIGURE 24)
68
Mroy B MOTOR MOUNTS (FIGURES 17 & 18)
69
Electronic Capacity Control Mounting (Figure 23)
71
Simplex Leak Detector Parts- Gauge & Nema Switch (Figure 25)
72
Double Diaphragm Parts for Metallic Liquid End (Figure 26)
72
FOR PLASTIC LIQUID END (Mroy B) (FIGURE 26)
73
Double Diaphragm Parts- with Conductivity Probe
74
Other manuals for Milton Roy mRoy A
Installation, Operation And Maintenance Manual
72 pages
Actuator Capacity Control Manual
33 pages
Related product manuals
Milton Roy mROY
12 pages
Milton Roy mRoy B
79 pages
Milton Roy mRoy XT
60 pages
Milton Roy MAXROY B
68 pages
Milton Roy MILROYAL D
32 pages
Milton Roy MILROYAL B
20 pages
Milton Roy MILROYAL C
20 pages
Milton Roy MAXROY Series
33 pages
Milton Roy GM0090
64 pages
Milton Roy G Series
41 pages
Milton Roy GM Series
64 pages
Milton Roy GB Series
43 pages