EasyManua.ls Logo

Milton Roy mRoy A - FIGURE 18. Common Parts - Mroy a & B End View and Mroy a Close Coupled Motor Mount

Milton Roy mRoy A
79 pages
Print Icon
To Next Page IconTo Next Page
To Next Page IconTo Next Page
To Previous Page IconTo Previous Page
To Previous Page IconTo Previous Page
Loading...
39Installation, Operations & Maintenance Manual
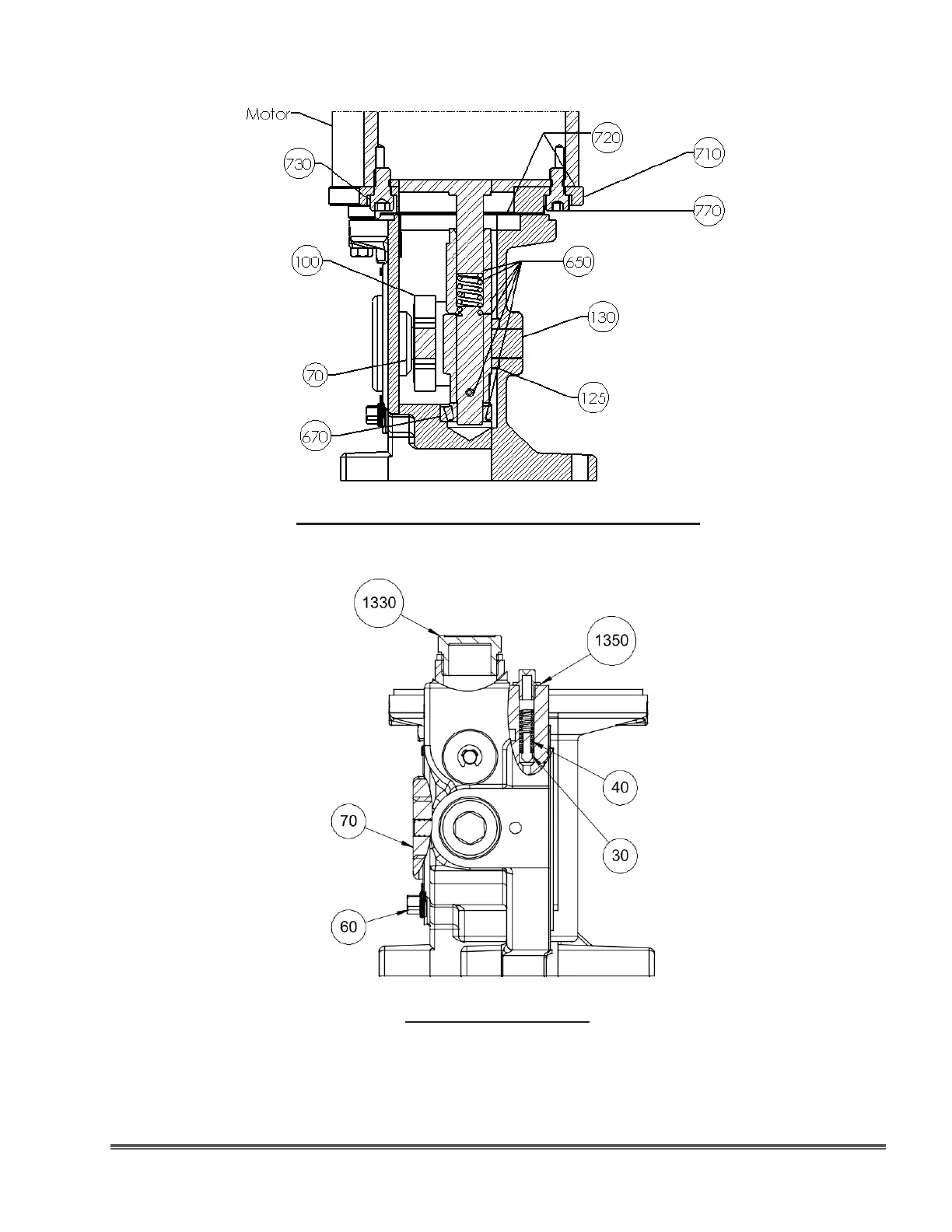
Figure 18. Common Parts - mRoy A & B End View and mRoy A Close Coupled Motor Mount
(DWG(s) 999-2009-0011 and 999-2009-0009)
CLOSED COUPLED MOTOR MOUNT FLANGE
HOUSING END VIEW

Table of Contents