EasyManua.ls Logo

Milton Roy mRoy A - FIGURE 25. Mroy B Leak Detection with Switch and Gauge

Milton Roy mRoy A
79 pages
Print Icon
To Next Page IconTo Next Page
To Next Page IconTo Next Page
To Previous Page IconTo Previous Page
To Previous Page IconTo Previous Page
Loading...
63 Installation, Operations & Maintenance Manual
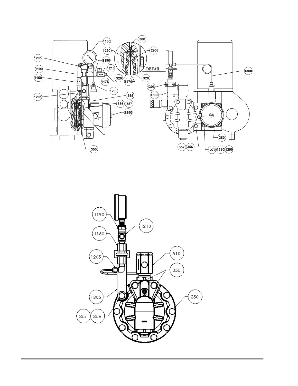
Figure 25. mRoy B Leak Detection With Switch and Gauge (DWG 999-2010-0005)
SIMPLEX
SEE DETAIL
Figure 26. mRoy B Gage Only (999-2010-0005)

Table of Contents

Other manuals for Milton Roy mRoy A

Related product manuals