EasyManua.ls Logo

Milton Roy mRoy A - FIGURE 26. Mroy B Double Diaphragm

Milton Roy mRoy A
79 pages
Print Icon
To Next Page IconTo Next Page
To Next Page IconTo Next Page
To Previous Page IconTo Previous Page
To Previous Page IconTo Previous Page
Loading...
64Installation, Operations & Maintenance Manual
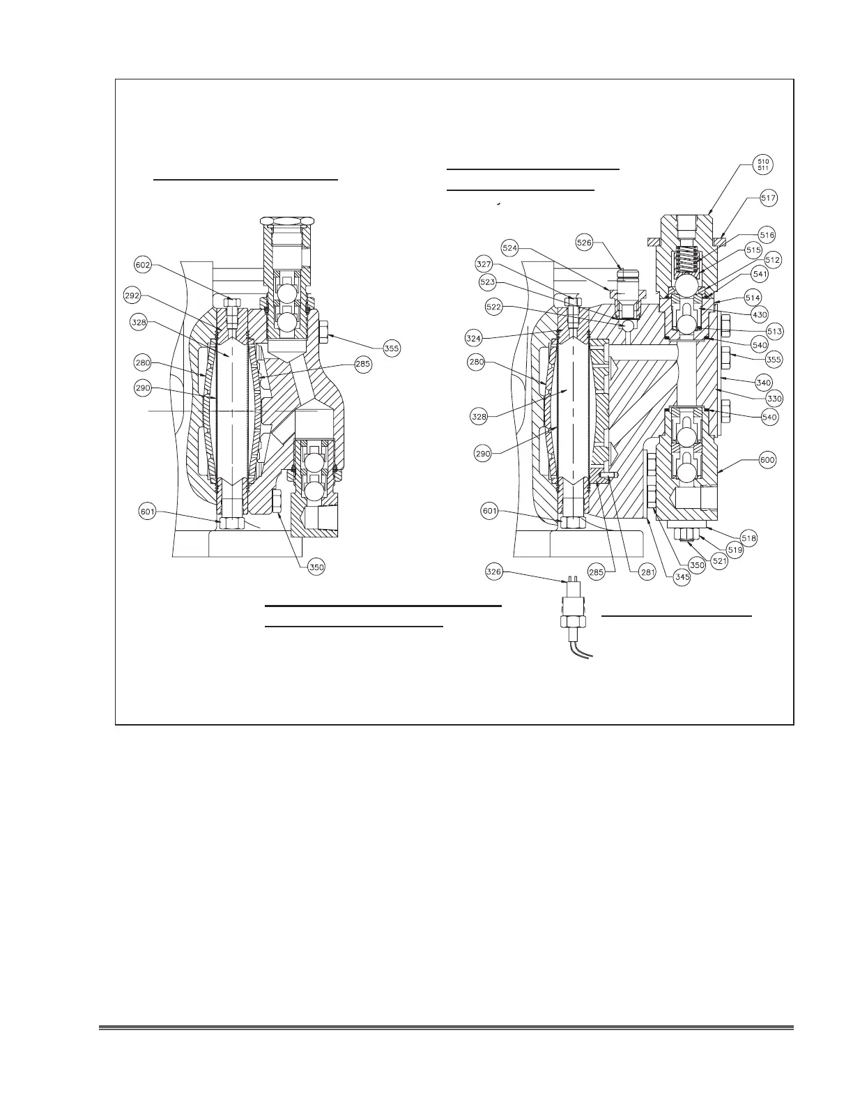
LOW PRESSURE LIQUID END
DOUBLE DIAPHRAGM
OPTIONAL PROBE
METALLIC LIQUID END
PLASTIC LIQUID END
mRoy M & B ONLY
Figure 26. mRoy B Double Diaphragm (DWG 999-2010-0025
& 999-2010-0026)
METALLIC LIQUID END
PLASTIC LIQUID END
mRoy M & B ONLY
LOW PRESSURE LIQUID END
DOUBLE DIAPHRAGM
OPTIONAL PROBE

Table of Contents

Other manuals for Milton Roy mRoy A

Related product manuals