EasyManua.ls Logo

MiniMax CU 300 SMART - Page 92

MiniMax CU 300 SMART
169 pages
Print Icon
To Next Page IconTo Next Page
To Next Page IconTo Next Page
To Previous Page IconTo Previous Page
To Previous Page IconTo Previous Page
Loading...
5.
NORME DI MESSA A PUNTO • SET-UP PROCEDURES
ENGLISHITALIANO
- 92 -
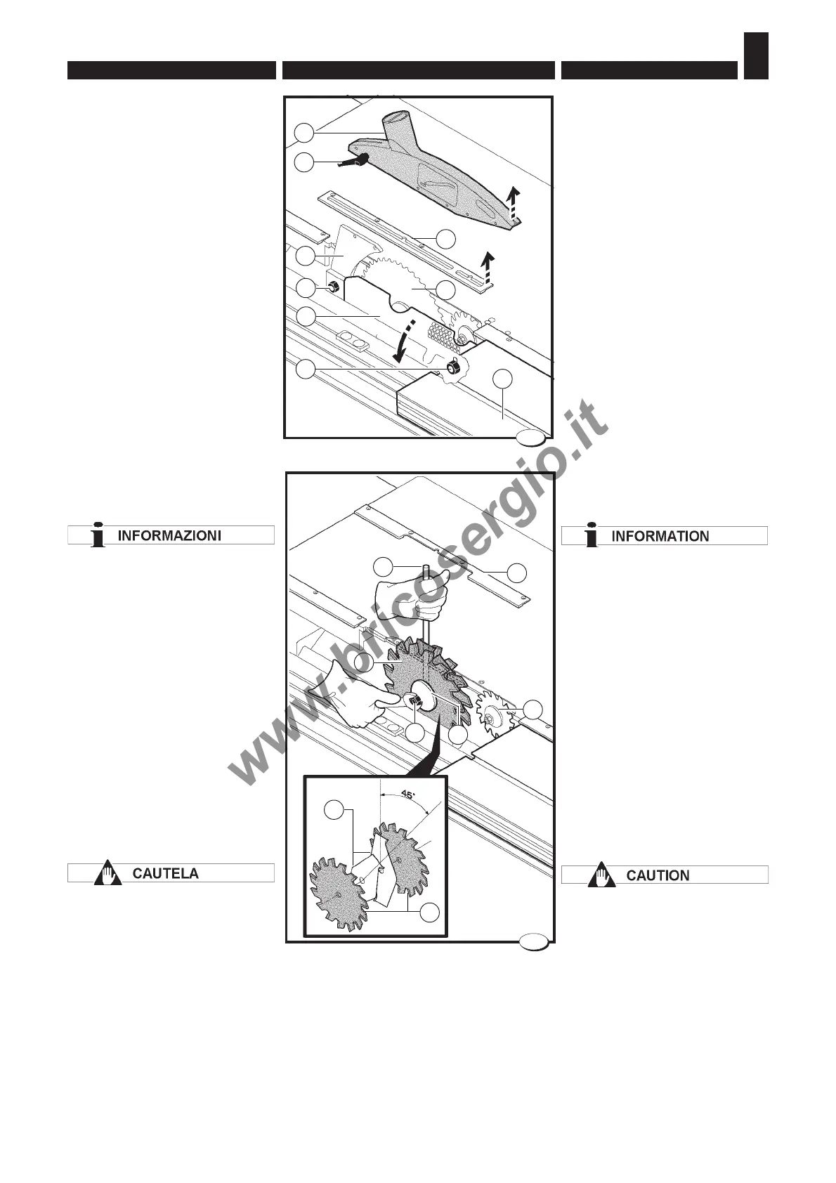
Disinserire la tensione di alimen-
tazione.
Posizionare il gruppo sega a 90°
e sollevarlo al massimo.
Togliere la protezione A allentan-
do la maniglia F.
Traslare il carro vagone H tutto a
destra.
Allentare il dado R; smontare il
coltello divisore L e ribloccare il
dado.
sollevare verso l'alto il dado M e
aprire la protezione N; l'apertura
agisce su un micro che impedi-
sce l'aviamento del motore (Ver-
sione USA e CANADA).
Inserire il perno B nel foro della
puleggia albero sega.
Il dado di bloccaggio C della
lama sega è sinistrorso; per
svitarlo occorre ruotarlo in
senso orario.
Allentare il dado di bloccaggio C
con chiave esagonale da 24 mm,
ed estrarre la flangia D .
Togliere il copriforo Q.
Togliere la lama sega G.
Montare il copriforo P.
Montare in sequenza le lame E,
la flangia D e il dado C (per evi-
tare eventuali vibrazioni pulire ac-
curatamente le lame "DADO
SET" e la flangia D).
I taglienti G devono essere
posizionati all'interno delle
lame R e ruotati
rispettivamente di 45°.
E' vietato eseguire la
lavorazione senza le lame
esterne R.
Serrare il dado con la chiave da
24 mm utilizzando il perno B.
Abbassare completamente
l'incisore O come descritto nel
paragrafo 5.1.7.
033_060_0.TIF
12
H
N
F
Q
L
G
R
A
M
033_061_0.TIF
13
C
B
O
E
P
D
G
R
Disconnect input power.
Position the saw assembly at 90º
and lift it as far as possible.
Remove protection A by
loosening handle F.
Translate the wagon H.
Loosen the nut R; remove the
dividing knife L and block the
nut again.
Lift the nut M upwards and open
the guard N; opening activates a
microswitch which prevents the
motor from starting (U.S.A. and
CANADA version).
Fit pin B into the saw shaft pulley
hole.
The locking nut C of the saw
blade is counter-clockwise; to
unscrew it turn it clockwise.
Loosen the lock nut C using a
24 mm hex wrench and remove
flange D.
Remove the hole cover Q.
Remove the saw blade G.
Mount the hole cover P.
Mount the blades E, the flange
D and the nut C in sequence (to
avoid possible vibrations
carefully clean the “DADO SET”
blades and the flange D).
The cutters G must be
positioned inside the blades R
and rotated 45
o
respectively.
Machining without external
blades R is prohibited.
Tighten the nut using the
24 mm wrench and the pin B.
Lower the engraver O
completely, as described in
paragraph 5.1.7.
www.bricosergio.it

Table of Contents

Related product manuals