EasyManua.ls Logo

Mitsubishi FX3U-422-BD - Page 424

Mitsubishi FX3U-422-BD
728 pages
To Next Page IconTo Next Page
To Next Page IconTo Next Page
To Previous Page IconTo Previous Page
To Previous Page IconTo Previous Page
Loading...
E-110
FX Series PLC User's Manual - Data Communication Edition
Inverter Communication
10 Practical Program Examples (for FX3G/FX3U/FX3UC PLCs)
10.2 Practical Example 2
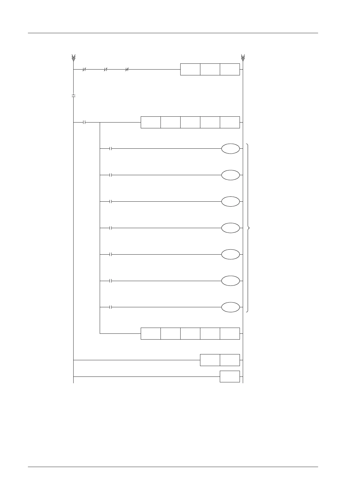
4. Monitoring operations of an inverter
M8000
RUN
monitor
Inverter is
operating
M101
Forward
rotation
D50 K1
FNC270
IVCK
K0 H06F
Inverter status is read
H7A
M107 to M100
Indicator
lamp, etc.
Frequency
monitor value
M100
Invereter
running
K2M100 K1
FNC270
IVCK
K0 H07A
Y000
Y001
Indicator
lamp, etc.
Y002
Indicator
lamp, etc.
Indicator
lamp, etc.
Y003
Y004
Indicator
lamp, etc.
Y006
Indicator
lamp, etc.
Y007
Indicator
lamp, etc.
M102
Reverse
rotation
M103
Up to
frequency
M104
Overload
is applied
M106
Frequency
is detected
M107
Alarm
occurrence
Output frequency monitor
Contents of status
(according to necessity)
N0 M70MC
M10
Driving of
write
instruction
M12
Driving of
write
instruction
Driving of
write
instruction
M11
While data is not
written to an inverter,
the status is read
M70N0
MCR N0
END

Table of Contents

Related product manuals