EasyManua.ls Logo

Mitsubishi FX3U-422-BD - Cable Connection Diagrams

Mitsubishi FX3U-422-BD
728 pages
To Next Page IconTo Next Page
To Next Page IconTo Next Page
To Previous Page IconTo Previous Page
To Previous Page IconTo Previous Page
Loading...
H-30
FX Series PLC User's Manual - Data Communication Edition
Programming Communication
4 Connection Cables and Interfaces
4.2 Cable Connection Diagrams
4.2 Cable Connection Diagrams
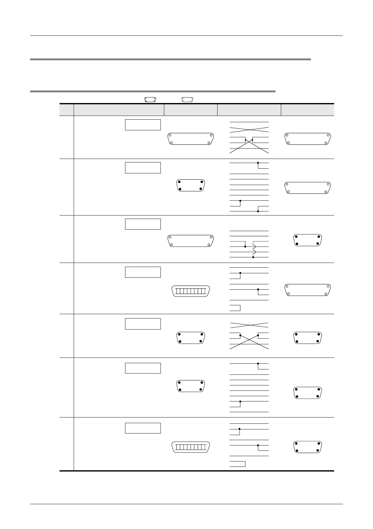
This section explains cable connection diagrams required for connection.
4.2.1 Personal computer connection cable - No. A
No. Cable model name Application Connection diagram Application
F
2
-232CAB
RS-232C
connection
Commercial cable
*1
Reverse (cross) type
RS-232C
connection
F
2
-232CAB-1
RS-232C
connection
Personal computer
connector
9-pin D-Sub, female
51
96
Communication port
connector
9-pin D-Sub, female
51
96
Personal computer
connector
25-pin D-Sub, male
113
14 25
A-1
A-2
A-3
Personal computer
connector
25-pin D-Sub, male
113
14
25
2
3
7
20
5
6
2
3
7
20
5
6
11
Communication port
connector
25-pin D-SUB, male
113
14
25
2
7
3
6
8
4
5
7
3
6
20
1
4
5
SHELL SHELL
2
8
1
Communication port
connector
25-pin D-Sub, male
113
14 25
*1 Interlink supporting cables are not applicable.
Commercial cable
*1
Reverse (cross) type
RS-232C
connection
Personal computer
connector
9-pin D-Sub, female
51
96
A-6
2
7
3
6
8
7
8
5
2
6
4
1
4
5
Frame Frame
3
1
*1 Interlink supporting cables are not applicable.
A-4
F
2
-232CAB-2
RS-232C
connection
Personal computer
connector
14-pin Half-pitch
Communication port
connector
25-pin D-Sub, male
113
14
25
1
2
3
4
5
6
7
20
Shield
2
3
8
6
5
FX-232CAB-1
RS-232C
connection
Personal computer
connector
9-pin D-Sub, female
51
96
Communication port
connector
9-pin D-Sub, female
51
96
FX-232CAB-2
RS-232C
connection
Personal computer
connector
14-pin Half-pitch
Communication port
connector
9-pin D-Sub, female
51
96
A-5
2
4
12
9
14
13
2
20
6
3
5
7
1
11
2
3
5
4
6
8
2
3
5
4
6
8
2
4
12
9
14
13
3
4
8
2
6
5
1
11
A-7
Communication port
connector
9-pin D-Sub, female
51
96
The connector shape indicates the engagement surface.
: Female type : Male type
8
17
14
8
17
14

Table of Contents

Related product manuals