EasyManua.ls Logo

Mitsubishi FX3U-422-BD - Page 620

Mitsubishi FX3U-422-BD
728 pages
To Next Page IconTo Next Page
To Next Page IconTo Next Page
To Previous Page IconTo Previous Page
To Previous Page IconTo Previous Page
Loading...
G-40
FX Series PLC User's Manual - Data Communication Edition
Non-Protocol Communication (FX2N-232IF)
6 Practical Program Examples
6.2 Sending/Receiving 8-Bit Buffer Length Data
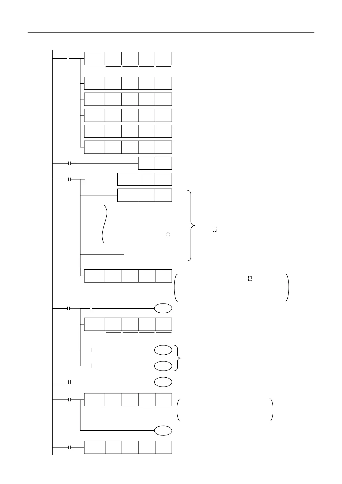
4. Program example
The number of bytes to be sent and send data are transferred.
D205( )
BFM#1005
D206( d )
BFM#1006
D207( a )
BFM#1007
D208( t )
BFM#1008
D209( a )
BFM#1009
FNC 79
TO
K 0
K 0 H409F
Initial
pulse
FNC 79
TO
K 0
K 2 K 8 K 1
Sending command input
PLS
FNC 12
MOV
K 9 D 200
H54 D 201
FNC 79
TO
K 0
K 4
H02
(STX)
FNC 79
TO
K 0
K 6
H03
(ETX)
FNC 79
TO
K 0
K 8
H02
(STX)
FNC 79
TO
K 0
K 10
H03
(ETX)
Program the steps for the remaining
data in the same way.
( T )
FNC 78
FROM
K 0 K 28
K4M10
K 1
RUN
monitor
M 3
K 0 K 1 K1M0 K 1
M11
FNC 78
FROM
K 0 K2001 D301 K 8
The received data buffers are read.
M 2
Y 1
Y 0
M 0
M10
M13
K 0 K1000 D200 K 10
M 1
M8003
K 1
M 1
K 1
K 1
K 1
K 1
( e )
( s )
( t )
( )
( d )
( a )
( t )
( a )
MOV H65 D202
MOV H73 D203
MOV H74 D204
MOV H20 D205
MOV H64 D206
MOV H61 D207
MOV H74 D208
MOV H61 D209
The status is read.
(BFM#28 b15 to b0
M25 to M10)
Error reset input
The commands are transferred.
(M3 to M0
BFM#1 b3 to b0)
Receiving
complete
BFM#2001
D301
BFM#2002
D302
BFM#2003
D303
BFM#2004
D304
Receiving complete
flag reset command
Sending complete
Error occurrence
D200(K 9)
BFM#1000
D201( t )
BFM#1001
D202( e )
BFM#1002
D203( s )
BFM#1003
D204( t )
BFM#1004
Block No. BFM #
Transfer
source
Number of
transfer points
The communication format is transferred.
(409FH
BFM#0)
The maximum number of receivable bytes is transferred.
(K 8
BFM#2)
Sending command
Number of bytes to be sent
(K9
D200)
Sending header
(02H
BFM#4)
Sending terminator
(03H
BFM#6)
Receiving header
(02H
BFM#8)
Receiving terminator
(03H
BFM#10)
Send data (9 bytes)
"Test data"
Sending/receiving is enabled.
Block No. BFM #
Transfer
source
Number of
transfer points
The status is monitored (if necessary).
The error is reset.
BFM#2005
D305
BFM#2006
D306
BFM#2007
D307
BFM#2008
D308
FNC 12
MOV
FNC 79
TO
FNC 79
TO
M8002
X000
M8000
X001
M8000

Table of Contents

Related product manuals